제10-2722837호 딥러닝 앙상블 기반의 보행 패턴을 이용한 사용자 식별을 위한 멀티 모달 퓨샷 학습 장치
제10-2814790호 스마트 깔창 활용 위치 추적 시스템 및 방법
제10-2712193호 생체정보 센싱 및 위험 알람 장치
제10-2592689호 설명 가능한 딥러닝 기반의 보행 패턴 분석을 위한 시각화 장치 및 방법 제10-2671304호 보행 궤적 추적 인솔 장치
제10-2590395호 딥러닝 네트워크를 이용한 전자코 가스 데이터 분류 시스템 및 방법 제10-2350593호 딥러닝 앙상블을 이용한 멀티모달 센서 기반의 보행 패턴 분류를 위한 장치 및 방법 제10-2302719호 검출정보별 신경망 분석을 실시하여 보행 종류를 분류하는 장치 및 방법 제10-2194313호 검출정보별 신경망 분석을 실시하여 개인을 식별하는 장치 및 방법
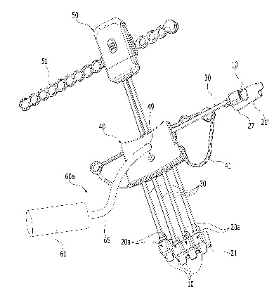
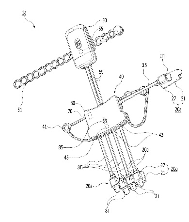
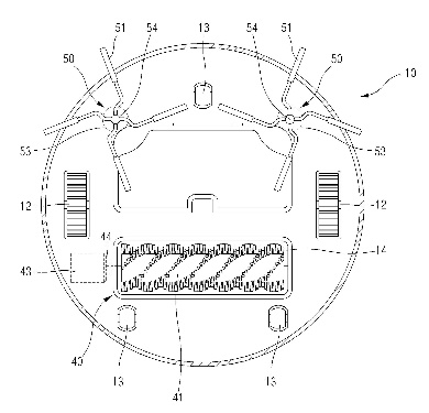
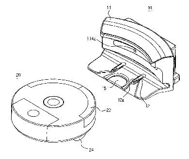
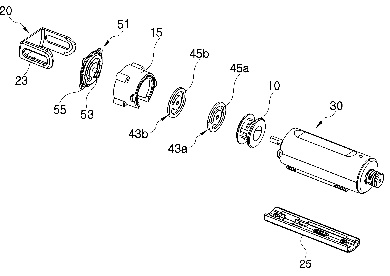
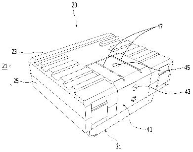
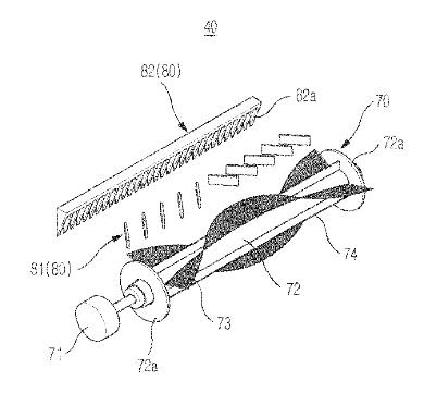
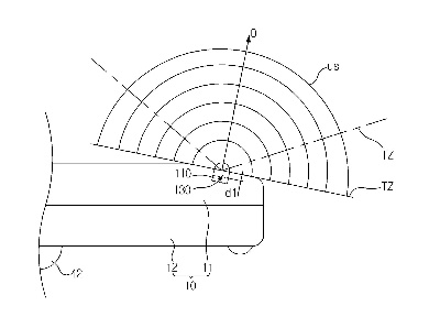
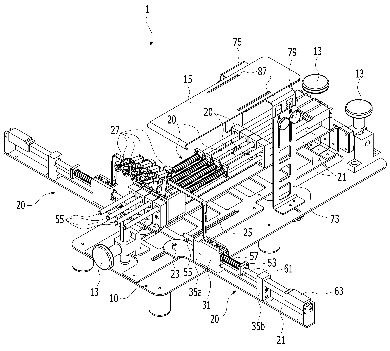
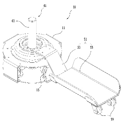
보행 궤적 추적
보행 궤적 추적 인솔 장치
인솔 센서로부터 센싱된 보행자의 보행 데이터와 보행자 신체 데이터를 융합하여 보행자의 인체 활동량을 정밀 측정 및 궤적을 추적
보행 궤적과 신체 정보 융합으로 인체 활동량을 정밀 측정
보행 차취를 통한 이동성 게임등에서 데이터 전송하여 가상게임(VR)의 이동 제한의 경계를 넘음
깔창 센서 정보와 GPS를 가공하여 보행 궤적화 및 지도에 표시화할 수 있음
범죄 및 위험한 상황에 있어서 근거가 될 수 있는 미취학 아동 및 노인성 질환을 앓고 있는 사용자의 보행 궤적을 추적
딥러닝
딥러닝 앙상블을 이용한 멀티모달 센서 기반의 보행 패턴 분류를 위한 장치 및 방법
딥러닝 기술
CNN(Convolutional Neural Network)과 RNN(Recurrent Neural Network)의 조합을 사용하여 동작 패턴을 정확하게 식별할 수 있도록 한
딥러닝 앙상블을 이용한 멀티모달 센서 기반의 동작 패턴 분류를 위한 장치 및 방법
동작분석 장치로부터 동작 데이터를 수집하는 데이터 수집부;
행동에 관한 정보에서 단위 동작의 구간을 정의하고 모든 단위 행동의 크기를 표준 길이로 조정하여 데이터 세트를 생성하는 데이터 생성부;
데이터 생성부에서 생성된 데이터 세트를 이용하여 각각 독립적으로 훈련되고, 각각 CNN 학습 분류 및 RNN 학습 분류를 하여 하나의 최종 예측을 제공하기 위해 평균 앙상블 모델을 적용하는 CNN 학습 분류부 및 RNN 학습 분류부;
CNN 학습 분류부 및 RNN 학습 분류부를 통한 완전연결 네트워크에서 출력된 값을 이용하여 동작의 종류를 판단하여 출력하는 동작 분류 결과 출력부;
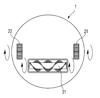
검출정보별 신경망 분석을 실시하여 보행 종류를 분류 및 개인을 식별 기술
딥러닝 기술
DCNN(Deep Convolutional Neural Network)
역전파(Back-propagation) 학습 알고리즘
ReLU(Rectifier Linear Unit) - 그레디언트 손실(vanishing gradient) 현상을 방지하기 위해 활성화 함수
내부 공분산 이동(Internal Covariance Shift) 현상을 방지하고 학습 안정성을 높이기 위해 배치 활성화 함수 적용 이후 배치 정규화를 수행
복수의 컨볼루션 레이어를 포함, 각 레이어는 대응되는 특징 수준(feature level)의 필터를 포함
출력되는 특징맵은 텐저(Tensor) 형태
학습 시 레이어 안에 있는 노드(node)를 드롭아웃(dropout) 비율만큼 무작위로 골라서 삭제한 후 남겨진 노드만을 가지고 학습을 하는 드롭아웃 방법 이용 - 과적합(overfitting) 문제를 방지하고 일반화(regularization) 성능을 향상시키기 위해
출력 레이어는 분류하고자 하는 클래스의 수 만큼의 노드로 구성
각 노드는 연산 레이어의 노드들의 가중치 합을 소프트맥스(softmax) 함수에 적용하여 개인을 식별하기 위한 최종 출력값을 연산
검출정보별 신경망 분석
한 걸음의 동작만으로도 개인을 식별할 수 있는 성능이 종래보다 현저히 높은 효과.
판별 분석 기반의 특징 추출 방법을 이용함에 따라 대량의 데이터 확보가 필요한 심층학습 네트워크보다 적은 학습양으로 높은 분류율을 나타냄.
분석 기반의 특징 추출 방법을 이용함에 따라 종래의 심층학습 네트워크보다 현저히 적은 컴퓨팅 성능(computing power)으로도 개인 식별의 연산을 신속히 수행할 수 있는 효과.
분석 기반의 특징 추출 방법을 이용함에 따라 종래의 심층학습 네트워크보다 현저히 적은 컴퓨팅 성능(computing power)으로도 보행 종류의 분류 연산을 신속히 수행할 수 있는 효과.
개인을 식별 및 보행 종류를 분류하는 분류부에 질병 진단과 관련된 기능을 학습시 키면 의료 분야에서도 유용.
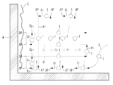
검출정보별 신경망 분석을 실시하여 개인을 식별하는 장치의 구성
검출정보별 신경망 분석을 실시하여 개인을 식별하는 방법의 순서도
전처리부가 노이즈를 제거하는 과정
전처리부가 센서 값을 배열로 나타낸 후 일렬로 정규화
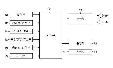
개인 식별을 위한 전체 구조 및 과정
센서별로 2차원 형태로 배열된 데이터가 개별 딥러닝(컨볼루션 레이어)에 입력되어 연산되고, 각 딥러닝에서 특징맵이 추출되는 과정
single-modal DCNN 및 multi-modal DCNN의 특징 벡터를 입력으로 이용하여 개인을 식별하는 완전연결 네트워크의 구조
SW개발 (Smart Tracker)
레저스포츠용 위치추적관리시스템 기술
레저스포츠용 위치추적관리시스템에 관한 것으로, 구체적으로는 레저스포츠를 즐기는 어린아이, 어른 등의 위치를 감지하기 위한 레저스포츠용의 위치추적관리시스템
레저스포츠용 위치추적관리시스템에 관한 전체적인 구성
사용자움직임감시부에 관한 구체적인 구성
SW개발 (Biometric information sensing)
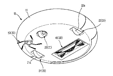
생체정보 센싱 및 위험 알람 장치
물놀이나 요트, 낚시 등 여가생활 중 물 감지로 물에 빠지거나 위치 이탈 여부를 내장된 GPS를 통하여, IoT LTE 장치로 클라우드 서버를 통하여 주변 사람들에게 알림 메시지를 제공하는 생체정보 센싱 및 위험 알람 장치에 관한 것으로,
생체의 상체 부위에 탈착이 가능한 구조를 갖춘 탈착부;
센서 기반의 환경정보 및 생체 정보 데이터를 수집하여 분석하는 데이터 수집 분석부;
자체 LTE 통신이 가능한 통신 모듈부;
통신모듈부로부터 생체 변화 정보가 수신되었을 때, 사용자의 보호자들에 게 긴급 상황 알림 기능을 하는 알림부;
생체정보 센싱 및 위험 알람 장치에 관한 전체적인 구성
SW개발 (Motion detection)
물놀이 익사 분별 기술
물 놀이 중인지, 물에 빠진 사항인지, 물 밖에 있는 건지 분별
🏢회사 > 📝소개
회사명
㈜펀월드 FunWorld CO.,LTD
연락
전자메일
ceo@funworld.co.kr
전화
032-544-7777
010-3066-2425
팩스
050-4077-2425
소재지 인천광역시 계양구 아나지로409번길 9 (21126) 인천광역시 계양구 작전서운동 666-1 9, Anaji-ro 409beon-gil, Gyeyang-gu, Incheon
서비스
펀월드: 안전과 재미를 동시에
안녕하세요! 저희는 펀월드입니다. 우리는 세상을 더 재미있고 안전하게 만들기 위해 최첨단 기술을 활용한 혁신적인 솔루션을 제공합니다. 특히 동작 감지 기술을 통해 긴급 상황 발생 시 자동으로 긴급 문자를 전송하는 서비스를 개발하여, 여러분의 안전을 지키고자 합니다.
주요 서비스
고립된 공간 감지 시스템
욕실, 계단 등 위험이 높은 장소에서 일정 시간 동안 움직임이 감지되지 않으면, 미리 설정된 긴급 연락처로 경고 문자를 자동 전송하여 위험을 방지합니다.
실시간 위치 추적 및 알림 시스템
GPS 기술과 동작 감지 기술을 결합하여 사용자의 실시간 위치를 추적하고, 긴급 상황 시 위치 정보를 포함한 문자를 전송합니다. 안전 구역을 설정하여 해당 구역을 벗어날 경우 자동으로 알림이 발송됩니다.
건강 모니터링 및 응급 대응 시스템
웨어러블 디바이스와 연동하여 심박수, 체온 등의 생체 데이터를 실시간으로 모니터링합니다. 비정상적인 데이터가 감지되면, 즉시 긴급 문자를 전송하여 빠른 대응이 가능하도록 합니다.
스마트 가전 연동 시스템
IoT 기술을 활용하여 스마트 가전과 연동, 긴급 상황 시 자동으로 가전 제품을 제어합니다. 사용자의 상태를 실시간으로 모니터링하여 안전한 환경을 유지합니다.
커뮤니티 기반 긴급 대응 시스템
가까운 이웃이나 친구들과 네트워크를 형성하여 긴급 상황 시 서로 도울 수 있는 커뮤니티 기반 시스템을 제공합니다. 응급 상황 발생 시 자동으로 커뮤니티 내 사람들에게 긴급 문자가 전송되어, 빠른 도움을 받을 수 있습니다.
펀월드는 여러분의 안전과 편의를 최우선으로 생각합니다. 저희와 함께 더 안전하고 재미있는 세상을 만들어 나가요!
FunWorld: Combining Safety and Fun
Welcome to FunWorld! Our mission is to make the world a safer and more enjoyable place through innovative solutions utilizing cutting-edge technology. We specialize in using motion detection technology to automatically send emergency text messages during critical situations, ensuring your safety at all times.
Key Services
Isolated Space Detection System
This system automatically sends an emergency text to preset contacts if no movement is detected in high-risk areas such as bathrooms or staircases for a certain period of time, helping to prevent accidents.
Real-Time Location Tracking and Alert System
Combining GPS technology with motion detection, this service tracks the real-time location of users and sends text messages with location information during emergencies. Users can set safe zones, and alerts are sent automatically when these zones are exited.
Health Monitoring and Emergency Response System
By integrating with wearable devices, we monitor vital signs such as heart rate and body temperature in real-time. If abnormal data is detected, emergency texts are sent immediately, allowing for swift action.
Smart Appliance Integration System
Utilizing IoT technology, this system integrates with smart home appliances to automatically control them during emergencies. It monitors the user’s status in real-time to maintain a safe environment.
Community-Based Emergency Response System
This service creates a network of neighbors and friends to provide mutual assistance in emergencies. Emergency texts are automatically sent to individuals within the community, ensuring quick help is available.
At FunWorld, your safety and convenience are our top priorities. Join us in creating a safer and more enjoyable world!
목표와 방향
우리 회사는 많은 기술력을 통하여 재미있는 세상을 추구하고자 레저와 안전 용품 개발에 다양한 응용 분야를 발굴하고 있습니다. 우선, 더 안전하고 걱정 없는 LTE IoT 동작 감지기로 생활 밀착형 제품을 개발 하고자 합니다.
Our company is exploring various application fields in the development of leisure and safety products to pursue a fun world through many technological capabilities. First of all, we want to develop products that are closer to everyday life with safer and worry-free LTE IoT motion detectors.
스마트폰 연결 없이 독립적인 LTE IoT 장비 개발로 좀 더 낳은 동작 분석을 연구개발하고 있습니다.
Our company is researching and developing better motion analysis by developing independent LTE IoT equipment without smartphone connection.
재미있는 세상을 추구하면서 레져 등 각 분야에 활용하여 공익의 안전도 추구 합니다.
While pursuing a fun world, we also pursue public safety by utilizing it in various fields such as leisure.
🎯기술 실증(PoC) 기업의 사업화·투자 요약
📣소개서
In the beginning God created the heaven and the earth.
GPS 기능을 통한 위치파악 및 통신사(SKT CatM1)를 통한 실시간 신속한 위치 발신 기능
다양한 아웃도어 레포츠 유저의 운동효과 측정(APP 연동) 기능
낙상 시 가속도센서를 통한 낙상예측 및 신고 (사이렌 포함) 기능
야간 보행 시 손전등 / 구명동의등(해양레포츠)의 기능
Odigo 제품 필요성
레저산업의 다변화와 레저인구 증대에 따른 안전사고 발생 심화. 이에 당사는 IoT 기술을 접목한 안전용품으로 위치 발신 기능의 구명동의등 제품 개발 함.
이후, 본격적인 경쟁력 확보를 위한 제품 업그레이드를 준비를 해왔으며, 사회적 문제로 대두되고 있는 초고령화에 따른 노인성질환자(사회적약자) 증가에 따른 실종사고 또한 잦아짐을 파악. 이는 실종사고 발생 시와 안전사고 발생 시, 그 대상자들의 조속한 위치파악이라는 문제는 동일 선상에서 볼 수 있음.
위치파악이라는 동일한 주제를 해결할 수 있는 제품에 착안하여 기기에 좀 더 상품성을 강화하여 경쟁력 있는 제품을 위해서 레포츠 분야의 운동량 측정기능과 낙상사고 발생 시, 낙상예측 기능, 해저용 물감지로 물 빠짐 측정을 결합한 융복합 제품 개발 함.
향후 제품을 이용하여 적용 될 단계별 사업계획
아웃도어 레포츠를 즐기는 성인 (육상, 산악 사이클, 해양 레포츠)
중/장년부터 노년층 특히 실버타운, 치매 위험군에 속한 관리 대상자와 그 보호자
유소년 등/하교 관리 기기 및 앱을 사용하는 아동 및 학부모
독거노인, 장애인, 취약여성 등 사회적 취약계층 보호를 위한 공공기관
일정하게 환자의 위치 상태를 파악해야 하는 간호사 및 가족 등의 보호자
The grace of our Lord Jesus Christ be with you all. Amen.
🏢회사 > 📰뉴스
🏢회사 > 📆연혁
25.08.20
딥러닝 앙상블 기반의 보행 패턴을 이용한 사용자 식별을 위한 멀티 모달 퓨샷 학습 장치
기술이전 특허(10-2722837)
25.08.13
기술이전 계약 체결
(주)펀월드 - 단국대학교 산학협력단
25.05.26
스마트 깔창 활용 위치 추적 시스템 및 방법
특허(10-2814790)
24.09.25
생체정보 센싱 및 위험 알람 장치
특허(10-2712193)
24.08.16
창업성장기술개발사업 (첫걸음_성장네트워크) 선정
중소기업기술정보진흥원 연구개발과제명: 자사 제품인 스마트인솔(풋나인)을 통한 뇌졸중 임상진료를 위한 인공지능 기반의 행동 분석 기술 개발
펀월드와 단국대학교 산학협력단 연구과제명: 스마트 인솔을 이용한 측정 데이터에 대한 보행 분석 SW 개발
22.12.19
O9 제품 KC 인증
(R-R-FD8-Rakib_O9) 취득
22.12.06
AI바우처 지원사업
공급기업 Pool 등록
22.11.28
보행 궤적 추적 인솔 장치
특허 출원 (10-2022-0161812)
22.11.09
검출정보별 신경망 분석을 실시하여 보행 종류를 분류하는 장치 및 방법
기술이전 특허(10-2302719)
22.11.09
검출정보별 신경망 분석을 실시하여 개인을 식별하는 장치 및 방법
기술이전 특허(10-2194313)
22.08 O9 제품 시제품 조립 및 실사용 테스트 시작
22.07.19
생체정보 센싱 및 위험 알림 장치
특허 출원 (10-2022-0088987)
22.07.19
개인위치정보사업자등록증
22.06.30
FunWorld
상표 출원 (4020220121517) 라낍(Rakib) 제품 기반 특허 진행
22.03.01
(주)비아비(VIA-B)
판매 및 영업 제휴 협약
22.01.26 창업기업 등록
21.12 심장박동 측정기 개발
21.10 체온 측정기 개발
21.08 위치 측정발신기 개발
21.06 관성센서를 이용한 보폭 거리 측정 개발
21.03 압력 센서를 이용한 스마트깔창 설계 개발
21.01 스마트깔창 회로설계 및 통신기기 개발
20.11.12 회사 설립, 주식회사 펀월드
🔬연구 > 📋이력
Electric Scooter Dashboard PCB/Gerber Development (2025.12, FunWorld)
◇ Custom-designed scooter dashboard PCB ◇ Integration of MCU, LED indicators, throttle interface ◇ Gerber optimization for mass production ◇ Hardware debugging & functional validation process
◇ Multi-sensor smart insole system with BLE, pressure sensors, and mobile interface ◇ Developing all control system for device using STM32WB ◇ Using KiCAD, AutoCAD, Keil, Android Studio
Avocado device (2021.08 ~ 2021.12, FunWorld)
◇ Compact wearable device using BlueNRG-232 with full embedded control stack ◇ Developing all control system for device using BlueNRG-232 ◇ Using KiCAD, AutoCAD, Keil
SmartGripper (2021.08.06, 앰비션핑크)
◇ Grip strength and walking speed measurement tool Full-stack Engineering: Mechanical, Hardware, and Firmware Design. ◇ Grip Strength and Walking Speed Data Measurement. ◇ 악력 및 보행속도 측정 도구 ◇ 기구, H/W, F/W 설계 악력 및 보행속도 데이터 측정
Smart Rakib (2021.07.20, 펀월드)
◇ Location transmitter Full-stack Engineering: Mechanical, Hardware, and Firmware Design. ◇ Location Transmission and Fall Detection Data Measurement. ◇ 위치발신기 ◇ 기구, H/W, F/W 설계 위치 발신 및 낙상감지 데이터 측정
Boxing glove device (2021.06 ~ 2021.11, FunWorld)
◇ Impact and motion sensing glove with real-time feedback and SVM-based gesture recognition ◇ Developing all control system for device using BlueNRG ◇ Using KiCAD, AutoCAD, Keil IMU에 SVM으로 중심점을 구하여 관절마다 기울어진 정도 인식 (세기, 속도, 횟수 측정)
FunWorld Insole (2021.03.15, Dankook 딥러닝랩)
◇ Insole with 208 pressure sensors Full-stack Engineering: Mechanical, Hardware, and Firmware Design. ◇ Pressure Distribution Data Measurement. ◇ 208개 압력센서 깔창 ◇ 기구, H/W, F/W 설계 압력분포 데이터 측정
SmartInsole (2021.01.15, Dankook Univ)
◇ Footprint analysis tool Full-stack Engineering: Mechanical, Hardware, and Firmware Design. ◇ Footprint Data Analysis. ◇ 족적 분석 도구 ◇ H/W, F/W 설계 족적 데이터 측정
Communication device (2020.11, FunWorld)
◇ BLE-based communication hardware with synchronized sound source localization ◇ Developing all control system for communication device using STM32WB ◇ Using KiCAD, AutoCAD, Keil
SmartMat (2020.10.25, 폴스타헬스케어)
◇ Elderly activity monitoring Full-stack Engineering: Mechanical, Hardware, and Firmware Design. ◇ Elderly Lifestyle Monitoring. ◇ 독거노인 생활 분석 ◇ 기구, H/W, F/W 설계 독거노인 생활 측정
Footstep Pressure Visualization on Sensor Platform (2020.04)
◇ Real-time foot pressure visualization system using balance platform
Balance (2020.03.10, NEOFECT)
◇ Lower limb rehabilitation training tool Full-stack Engineering: Mechanical, Hardware, and Firmware Design. ◇ Lower Limb Balance Measurement. ◇ 하지재활용 훈련 도구 ◇ H/W, F/W 설계 하지 균형 측정
Board Active (2020.01.10, NEOFECT)
◇ Shoulder rehabilitation training tool. ◇ 어깨 재활용 훈련 도구 ◇ 아이디어, 동작방식
NeoMano (2019.10.24, NEOFECT)
◇ Finger grasping motion assistance Full-stack Engineering: Mechanical, Hardware, and Firmware Design. ◇ Assisted Hand Grasp and Release Device. ◇ 손가락 쥐는 동작 구현 ◇ H/W, F/W 설계 손 쥐고, 펴기 보조기기
RIC Glove (2019.05.29, NEOFECT)
◇ Finger motion tracking using IMU sensor Full-stack Engineering: Mechanical, Hardware, and Firmware Design. ◇ Hand motion tracking. ◇ IMU 센서를 통한 손가락 움직임 측정 ◇ H/W, F/W 설계 손 움직임 측정
Reservation Site (2019.05, Nuri Waterpark)
◇ Long-term management and design of multi-domain resort booking websites ◇ Developing all system for reservation site using WEB ◇ Using JavaScript, HTML5, SVG, PHP, jQquery
Management Tool Development (0robot Tool, 2019.01 ~ 2020.11) Development of tools for company management
SmartTube (2018.10.16, NEOFECT)
◇ Waist rehabilitation tube training system Full-stack Engineering: Mechanical, Hardware, and Firmware Design. ◇ 허리 재활 훈련 및 측정용 튜브 제작 ◇ H/W, F/W 설계 허리 측정 및 재활
SmartGlove (2018.09.11, Dankook Univ)
◇ Finger and hand motion tracking gloves Full-stack Engineering: Mechanical, Hardware, Firmware and Unity Design. ◇ Hand finger Posture Measurement. ◇ 손가락 움직임 측정 장갑 ◇ H/W, F/W 설계 손 동작 측정
PegBoard (2018.04.30, NEOFECT)
◇ Digital pegboard system for rehabilitation Full-stack Engineering: Mechanical, Hardware, and Firmware Design. ◇ 재활 환자 페그보드 디지털화 제작 ◇ H/W, F/W 설계 손 재활
SmartKids (2017.02.07, NEOFECT)
◇ Hand motion tracking Full-stack Engineering: Mechanical, Hardware, and Firmware Design. ◇ Hand Posture Measurement. ◇ 손 움직임 측정 ◇ H/W, F/W 설계 손 자세 측정
SmartGlove (2016.11.21, NEOFECT)
◇ Hand motion tracking 장갑 Full-stack Engineering: Mechanical, Hardware, and Firmware Design. ◇ Hand Posture Measurement. ◇ 손 움직임 측정 장갑 ◇ H/W, F/W 설계 손 자세 측정
KAIST Shoulder (2016.06.02, NEOFECT)
◇ Passive shoulder rehabilitation mode Full-stack Engineering: Mechanical, Hardware, and Firmware Design. ◇ 어깨 재활 Passive 모드 ◇ H/W, F/W 설계 어깨 재활 제어
SmartBody (2016.05.23, NEOFECT)
◇ Body measurement for rehabilitation Full-stack Engineering: Mechanical, Hardware, and Firmware Design. ◇ Posture Measurement. ◇ 재활 환자 몸 측정 ◇ H/W, F/W 설계 자세 측정
OID (2016.01.15, NEOFECT)
◇ OID location recognition system Full-stack Engineering: Mechanical, Hardware, and Firmware Design. ◇ Location Recognition Design. ◇ OID 위치 인식 구현 ◇ H/W, F/W 설계 위치 인식 설계
SmartArm (2016.01.20, NEOFECT)
◇ Passive shoulder movement training Full-stack Engineering: Mechanical, Hardware, and Firmware Design. ◇ Motion Control. ◇ 어깨 환자 Passive 모드 ◇ H/W, F/W 설계 모션 제어
SmartFingers (2016.01.04, NEOFECT)
◇ Finger rehabilitation Full-stack Engineering: Mechanical, Hardware, and Firmware Design. ◇ Motion Control. ◇ 손가락 재활 ◇ H/W, F/W 설계 모션 제어
Chemion (2015.08.17, NEOFECT)
◇ LED glasses development Full-stack Engineering: Mechanical, Hardware, and Firmware Design. ◇ LED 안경 제작 ◇ H/W, F/W 설계
FingerMaster (2015.02.28, NEOFECT)
◇ Hand rehabilitation training Full-stack Engineering: Mechanical, Hardware, and Firmware Design.. ◇ 손 재활 훈련 ◇ H/W, F/W 설계 모터로 손가락 쥐고 펴기
SmartWand (2014.04.30, NEOFECT)
◇ Body measurement for rehabilitation Full-stack Engineering: Mechanical, Hardware, and Firmware Design. ◇ Posture Measurement. ◇ 재활 환자 몸 측정 ◇ H/W, F/W 설계 자세 측정
Embedded System Edu.Board (2014.02.28, Dankook Univ)
◇ Embedded system education board Full-stack Engineering: Mechanical, Hardware, and Firmware Design. ◇ 임베디드실습 강의 보드 ◇ H/W, F/W 설계 강의 자료 작성
eGlove (2013.12.23, NEOFECT)
◇ Hand motion tracking 장갑 Full-stack Engineering: Mechanical, Hardware, and Firmware Design. ◇ Hand Posture Measurement. ◇ 손 움직임 측정 장갑 ◇ F/W 설계 손 자세 측정
PetFit (2013.12.16, Dankook Univ)
◇ Dog behavior pattern analysis Full-stack Engineering: Mechanical, Hardware, and Firmware Design. ◇ 강아지 행동 패턴 분석 ◇ F/W 설계 움직임 측정
SmartBand (2013.09.05, Dankook Univ)
◇ Exercise pattern recognition Full-stack Engineering: Mechanical, Hardware, and Firmware Design. ◇ Exercise pattern recognition. ◇ 운동 패턴 인식 ◇ F/W 설계 운동 패턴 인식
◇ Sound source localization Full-stack Engineering: Mechanical, Hardware, and Firmware Design. ◇ 소리 위치 추적 ◇ H/W, F/W 설계 소리추적 & 로봇 제어
Dumbbell (2013.05.05, Dankook Univ)
◇ Exercise volume measurement tool Full-stack Engineering: Mechanical, Hardware, and Firmware Design. ◇ 운동기구 운동량 측정 ◇ F/W 설계 모션 측정
Rehabilitation medical device (2013.03 ~ 2020.11, Neofect)
◇ Developing all control system for rehabilitation medical device using STM32F, BlueNRG ◇ Using Keil, OrCAD, Visio ◇ CES Innovation AWARDS in 2017 (Smart Glove), 2018 (Pegboard), 2020 (Balance) ◇ Reddot award design concept 2019:Best of the Best (NeoMano, Powerful Wearable Robotic Glove)
Balance Center Estimation Using Pressure Sensors
◇ Development of sensor for measuring body center point using pressure pad.
Smart Board for Precise Plane Position Detection
◇ Development of sensor for accurate position measurement of plane.
Kalman Filter-Based OID Pad Localization
◇ Development to estimate the exact location of OID pad by applying Kalman filter.
Sensor-Integrated Data Glove for Hand Tracking
◇ Development of Data Glove.
Smart Glove for Accurate Rotation Sensing
◇ Development of sensor for accurate rotation measurement.
Geometric Center Detection Using Geomagnetic Data
◇ Development of finding the center point of a sphere with measured geomagnetic values.
AUTOBOT-FRESH (2013.02.02, 삼성전자)
◇ AUTOBOT cost innovation Full-stack Engineering: Mechanical, Hardware, and Firmware Design. ◇ OS Porting and System Optimization. ◇ AUTOBOT 원가 혁신 ◇ F/W 설계 OS 변경 & 시스템 최적화
VR-F710G (2012.11.30, 삼성전자)
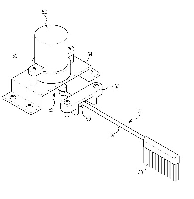
◇ Pop-out brush Full-stack Engineering: Mechanical, Hardware, and Firmware Design. ◇ POP OUT BRUSH ◇ F/W 설계 사이드브러시 제어
AUTOBOT-LIGHT (2012.09.10, 삼성전자)
◇ AUTOBOT cost innovation Full-stack Engineering: Mechanical, Hardware, and Firmware Design. ◇ Low-cost model development. ◇ AUTOBOT 원가 혁신 ◇ F/W 설계 저가형모델 제작
MAX-Premium Plus (2012.01.30, 삼성전자)
◇ Auto dust disposal Full-stack Engineering: Mechanical, Hardware, and Firmware Design. ◇ Automatic Dust Disposal Control. ◇ Auto Dust Emptying ◇ 기구, H/W, F/W 설계 자동배출 제어
MAX-View (2012.01.19, 삼성전자)
◇ Home monitoring system Full-stack Engineering: Mechanical, Hardware, and Firmware Design. ◇ Two-way Voice Communication. ◇ Home monitoring ◇ F/W 설계 양방향 음성 통화
MAX (2011.10.15, 삼성전자)
◇ 4th Generation Cleaning Robot Full-stack Engineering: Mechanical, Hardware, and Firmware Design. ◇ 4 세대 청소로봇 ◇ 기구, H/W, F/W 설계 모션 제어 & 청소툴 제어
TANGOVIEW (2011.03.29, 삼성전자)
◇ Self home-monitoring system Full-stack Engineering: Mechanical, Hardware, and Firmware Design. ◇ 자가 홈모니터링 시스템 ◇ F/W 설계 Camera 제어 & 모션 처리
STEALTHBOT (2011.02.17, 삼성전자)
◇ Low-noise model (49dB) Full-stack Engineering: Mechanical, Hardware, and Firmware Design. ◇ 저소음 모델 (49dB) ◇ F/W 설계 모터 제어 & 시스템 저소음
Coverage (2010.07.06, 삼성전자)
◇ Competitor coverage measurement 측정 도구 개발. ◇ 타사 커버리지 측정방법 ◇ 측정 도구 개발
AUTOBOT (2009.11.06, 삼성전자)
◇ 3rd Generation Cleaning Robot Full-stack Engineering: Mechanical, Hardware, and Firmware Design. ◇ Docking, Homing, and Anti-fall Sensor System. ◇ 3 세대 청소로봇 ◇ 기구, H/W, F/W 설계 도킹 & 호밍 & 추락방지센서
Website Development(NURI, 2009.01 ~ Present), Ganghwa-gun Incheon, South Korea
Developed the website of NURI Pension Town (http://nuriresort.com, http://nuria.kr, http://nurib.kr, http://nuric.kr, http://nuriw.kr, http://nuripark.kr)
FUROT2 (2008.03.21, 삼성전자)
◇ 2nd Generation Cleaning Robot Full-stack Engineering: Mechanical, Hardware, and Firmware Design. ◇ 장애물센서 & Full-stack Engineering: Mechanical, Hardware, and Firmware Design. ◇ 2 세대 청소로봇 ◇ 기구, H/W, F/W 설계 장애물센서 & F/W 설계
FUROT (2006.09.27, 삼성전자)
◇ 1st Generation Cleaning Robot Full-stack Engineering: Mechanical, Hardware, and Firmware Design. ◇ 1 세대 청소로봇 ◇ H/W, F/W 설계 도킹 & 충전기
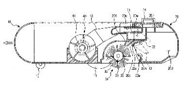
Robot Vacuum Cleaner (2006.07 ~ 2013.02, Samsung)
◇ Developing all control system for robot vacuum cleaner using PIC, NXP ◇ Using NX5, MPLAB, PHP ◇ CES Innovation AWARDS in 2012 (NaviBot -S), 2013 (Tango Conner Clean Robotic Vacuum) ◇ Developing optics lens for robot vacuum cleaner using infrared ray (Docking, Sensor, Guard system, …)
Anti-Hair-Jamming Brush Design
◇ Development of cleaning tool for solving hair jams.
Optimization of Side Brush Speed and Coverage
◇ Development of speed and placement of side cleaning tools.
Cleaning Coverage Visualization and Analysis
◇ Development of measuring the cleaning coverage of a robot vacuum cleaner.
Simulation for Optimal Obstacle Sensor Placement
◇ Development of simulation for obstacle sensor location.
Battery Curve Analysis for Power Optimization
◇ Development of power saving mode by understanding battery characteristics.
Docking System Algorithm Development
◇ Development of algorithm for docking system.
Infrared-Based Virtual Boundary System
◇ Development of technology to limit specific area with virtual fence using infrared signal.
Beacon Localization Using Pattern Recognition with Camera
◇ Development of location recognition of beacons with certain patterns using cameras. ◇ R&D for cleaning mechanics, sensor alignment, docking, battery optimization, and virtual fences
SVM Based Learning for Motor Control (2006.01 ~ 2006.04, USC)
◇ The control of a two-link robot arm is used to compare the performance of Support Vector Machines with that of other approaches that have been used for motor control and learning ◇ Using Matlab
Motion Planning for a Non-Punctual Robot (2005.08 ~ 2005.11, USC)
◇ Advanced sensor modeling and signal analysis for accurate positioning and motion tracking ◇ Geometric path planning and smooth curve generation for large-body robot ◇ Developing a timely efficient motion planning system applying computation geometry ◇ Using Java, Mathmatica ◇ Development of motion that can drive smoothly.
Rotational Speed Detection with Wheel Encoder
◇ Development of sensor location for precise rotational speed measurement.
Localization Improvement in Slightly Changing Environments (2005.08 ~ 2005.11, USC)
◇ EKF localization algorithm in slightly changing environments and recovery from the broken localization ◇ Using C++
Removing Objects from Video (2005.04 ~ 2005.05, USC)
◇ Developed a system that traces objects in motion and replaces them with a corresponding background ◇ Using Visual C++ ◇ Awarded best project in spring 2005
4D Infinity Sphere (2002.06 ~ 2002.09, Korea Univ)
◇ Using Mathmatica
Brianchon theory (2001.09 ~ 2001.12, Korea Univ)
◇ Using Mathmatica
Fractal simulation (2000.09 ~ 2000.12, Korea Univ)
◇ Make shapes infinitely with certain rules. ◇ Using Povray
Projective simulation (2000.03 ~ 2000.06, Korea Univ)
◇ Projecting a parabola and a parallel line makes it for confirmation that they meet at one point. ◇ Using Mathmatica
🏛️관련 기관
나라장터 중기청 기업마당 NTIS 과제 검색 RCMS iris 범부처통합연구지원시스템 산업기술 R&D의 시작 srome MFDS 식품의약품안전처 MFDS 의료기기전자민원 KIBO 기술보증기금 IPMAS 지식재산공제 LBS산업협의회 KOSME 중소벤처기업진흥공단 RnD KOITA 기업부설 연구전담부서 신고 SCI 평가정보 SGI 서울보증 RIPC 지식재산 바우처 PATENT 특허로 KIPRIS 특허정보검색 ITECH 산업기술 smtech 중소기업 기술개발사업 k-startup STARTUP PARK nipa 정보통신산업진흥원 smart nipa Wearable 기업지원플렛폼 blessing Eco begin Studio 엘림넷 DB서버 정검
👤대표 > 📝소개
대표
유경환 Yoo Kyunghwan
yookyunghwan@gmail.com
과학기술인 1118 4104
ORCID 0009-0003-5799-8991
경영 철학
정도경영으로 윤리경영을 기반으로 꾸준히 실력을 배양해 정정당당하게 경쟁하는 펀월드만의 행동 방식을 달성할 것입니다.
기업의 존립 근거이자 회사 운영의 원칙으로 부정/청탁 금지, 인간 존중, 가치 창조 경영입니다.
전문 분야 (핵심역량)
제어 시스템 설계 및 개발
STM32, BlueNRG 마이크로컨트롤러와 Keil 환경을 활용한 장치 제어 시스템 개발
로봇청소기, 의료 재활 장치, 통신 장치 등의 제어 시스템 설계 경험
기구 및 회로 설계
AutoCAD를 활용한 다양한 제품 기구 설계
KiCAD를 이용한 회로도 작성 및 회로 설계 및 개발
인공지능 솔루션 통합
AI 바우처 프로젝트를 통한 AI 솔루션 제공
기업의 인공지능 도입을 지원하는 프로젝트 참여
Android 및 웹 개발
Android Studio를 사용한 앱 개발 경험 (SMS, Bluetooth, GPS 통합), JavaScript, HTML5, PHP 기반 웹 시스템 개발
혁신적인 기술 개발 및 수상 경력
CES Innovation Awards
RedDot Award 수상 프로젝트 참여
의료 재활 기기, 센서 기반 기술 개발 경험
업무 경력
다양한 프로젝트에서 AutoCAD와 Schematic을 활용한 설계 및 제어 시스템 개발
STM32 마이크로컨트롤러 기반 장치 개발
Android Studio를 사용한 앱 개발 (SMS, Bluetooth, GPS 통합)
AI 솔루션 제공
인공지능 관련 프로젝트 수행
웹 예약 시스템 개발
JavaScript, HTML5, PHP 등을 사용한 시스템 개발
AI 바우처 프로젝트를 통한 AI 솔루션 제공
기업의 인공지능 도입을 지원하는 프로젝트 참여
재활 의료 장치 개발에 참여
STM32, BlueNRG 기반의 제어 시스템 개발
CES Innovation Awards
RedDot Award 수상 프로젝트에 기여
재활 의료 장치 개발에 참여
Android Studio를 사용한 앱 개발 경험 (SMS, Bluetooth, GPS 통합), JavaScript, HTML5, PHP 기반 웹 시스템 개발
CEO ㈜펀월드FunWorld Co.,Ltd, Incheon, South Korea https://funworld.co.kr
2013.04.26 ~ 2020.11.30
Research and Development (R&D Director) Neofect, Seongnam, South Korea Research and Development of Rehabilitation device
2006.07.03 ~ 2013.02.28
Research and Development (Senior Research Engineer) Samsung Electronics Digital Appliances, Suwon, South Korea Research and Development of Robot vacuum cleaner
2005.08 ~ 2006.05
Website Development USC KGSA, Los Angeles, California Developed the website of Department of Korean Graduate Student Association at USC (http://usckgsa.org)
2002.07 ~ 2002.08
Engineer (intern) LnT Infotech, Bangalore, India Worked as Intern for LARSEN & TOUBRO INFOTECH LIMITED participating in the project "QoS Implementation for Wireless LAN"
2002.04 ~ 2002.06
Software Engineer Telecommunication Mathematics Research Center, Seoul, South Korea Developed the system "Analyzer for Telecommunication System Using QBD"
2001.11 ~ 2003.02
Website Development (Responsible Engineer) Korea University, Seoul, South Korea Developed the website (http://math.korea.ac.kr) of Department of Mathematics at Korea University with Prof. Yang,SeongDeog
👤대표 이력 > 🎓학력
연도
학력
로고
2013.03.01 ~ 2015.02.28
단국대학교 Dankook University (Ph. D. Candidate in Engineering,박사수료) 컴퓨터 공학과 (Computer Science and Engineering)
2003.08.25 ~ 2006.05.12
University of Southern California (Master of Science,석사, 6965-4070-29) Computer Science (Intelligent Robotics)
1999.03.02 ~ 2003.02.25
고려대학교 Korea University (Bachelor of Science,학사) 이과대학 수학과 (Mathematics & Computer Science)
👤대표 이력 > 📑논문
날짜
형식
논문
2016.08.27
SCIE
Development of a low-cost wearable sensing glove with multiple inertial sensors and a light and fast orientation estimation algorithm
2016.05.16
Conference
Model based augmentation and testing of annotated hand pose database
👤대표 > 🚀활동
Jan. 2026, Cover Speacial Dec. 2025, 사업자대상 위치정보보호 교육7차 수료증 Sep. 2025, 광복 80주년 특별기획 2025 한국을 이끄는 혁신 리더 경영혁신 부문 Aug. 2025, 중대형 기술이전 계약 체결 단국대학교 산학협력단 May 2025, 2025 대한민국 품질혁신 대상 Jan. 2025, Cover Speacial Dec. 2024, 2024 연말 특별기획 한국을 이끄는 혁신 리더 경영혁시 부문 Oct. 2024, 올해를 빛낸 인물대상 안전용품-혁신기업 부문 Oct. 2024, 제24회 올해를 빛낸 인물&브랜드 대상 시상식 연합매일신문 Jul. 2024, Signed a mid-to-lagrge technology transfer contract. Dankook University Industry Academic Cooperation Foundation Jul. 2024, Post21 News Cover Special May 2024, 2024 한국을 이끄는 혁신 리더 혁시CEO부문 Feb. 2024, Post21 News Cover Special Dec. 2023, 2023 연말 특별기획 한국을 이끄는 혁신 리더 혁시CEO 부문 Nov. 2023, 이과대학 70주년 기념식 Oct. 2023, 기술 품질 혁신 대상 안전보호 제품 부문 Sep. 2023, 임상시험 교육 수료증 Aug. 2023, 2023 대한민국 미래경영대상 안전용품부문 Aug. 2023, Cover Special Jul. 2023, 2023년 특별기획 한국을 이끄는 혁신 리더 경영혁신 부문 Jun. 2023, 2023 대한민국 혁신 인물 & 품질만족지수 1위 기업 대상 혁신기업 부문[혁신제품] Jun. 2023, 2023 INNOVATION LEADER 대상 레저 안전 부문 Jun. 2023, Post21 News Cover Special May 2023, 2023년 특별기획 한국을 이끄는 혁신 리더 경영혁신 부문 Apr. 2023, 2023년 혁신한국인 & POWER KOREA 기술혁신 부문(혁신제품) Apr. 2023, 고려대학교 이과대학 70주년 방명록 Feb. 2023, 고려대학교 과학도서관 도너스월 네이밍 [펀월드 유경환] Feb. 2023, 오나인(O9) 제품 2023 서울국제스포츠레저산업전 코엑스 전시 (SPOEX2023) with VIA-B Jul. 2022, K 스타트업 멘토 승인, 창업진흥원 k-startup.go.kr Jun. 2022, 이과대학 발전기금 기부, 고려대학교 아산이학관 Sep. 2019, Certificate: Red Dot: Best of the Best (NeoMano, Powerful Wearable Robotic Glove) May 2014, Conference: 공학계열의 학업과 직업에서 Mathematica 최대한 활용하기 고려대학교 수학과 Mar. 2012, Senior Engineer(S5), Samsung Electronics Apr. 2008, 하우젠 로봇청소기 VC-RE70V 시리즈, SAMSUNG e family Aug. 2002, Certificate of the QoS Implementation for Wireless LAN, L&T Infotech Feb. 1999
Dec. 2024, Seminar: 선배와의 만남 (로봇공학), 계산고
Nov. 2024, Seminar: 의료용 전동스쿠터 완제품 검사, 품질 보증을 위한 검사, 검사 프로세스 최적화 시스템 개발 및 기술 검토 보고, ‘강원지역혁신플랫폼’의 「정밀의료산업 실태조사 및 데이터 기반 기술고도화 수요기업 발굴 용역」
Dec. 2023, Seminar: 선배와의 만남 (로봇공학), 계산고
Jun. 2022, Seminar: 선배와의 만남 (로봇공학), 계산고
Nov. 2019, Seminar: 재활의료기기 원천 기술 및 최근 센서 기술, 서울의대
Jul. 2019, Seminar: 선배와의 만남 (로봇공학), 계산고
Nov. 2018, Seminar: 창업기업의 신산업기술 활용전략, 건국대학교
Jul. 2018, Seminar: 선배와의 만남 (로봇공학), 계산고
Nov. 2017, Seminar: Purpose driven life with mathematics and programming, 고려대학교 수학과
Jul. 2016, Seminar: 선배와의 만남 (로봇공학), 계산고
Dec. 2012, Seminar: 로봇청소기 제작 및 구동 원리, 단국대학교 컴퓨터공학과
Nov. 2011, e~Test Professionals, (사)한국창의인성교육연구원
Oct. 2007, Green Belt Six Sigma, Samsung
Jun. 2002, Industrial Engineer Information Processing
Oct. 2001, Certificate of the Computer Processor Ability (2 level)
Aug. 2001, Industrial Engineer Office Automation
Jul. 2001, Craftsman Information Equipment Operation
Oct. 2000, Craftsman Information Processing
Dec. 1999, Craftsman Computer Graphics Operation
Fall 1999, First Class Honors (Korea University) Received an Award for the Best Grades
🌐서비스 > 🛰️개인위치정보사업
🌐서비스 > 📍개인위치정보사업 > ⚙️시스템의 구성 (물적설비)
🌐서비스 > 📍개인위치정보사업 > 🛡️위치정보의 관리적 기술적 보호조치 계획
🌐서비스 > ⚖️이용약관
개인정보취급방침
(주)펀월드(이하 “회사”라 함)가 제공하는 위치발신장치 서비스 (이하 ‘서비스’라 합니다)는 고객님의 개인정보보호를 소중하게 생각하고, 고객님의 개인정보를 보호하기 위하여 항상 최선을 다해 노력하고 있습니다.
1. 총칙
1) 개인정보란 생존하고 있는 개인에 관한 정보로서 당해 개인을 알아볼 수 있는 부호, 문자, 음성, 음향 및 영상 등의 정보(당해 정보만으로는 특정 개인을 알아볼 수 없는 경우에도 다른 정보와 용이하게 결합하여 알아볼 수 있는 것을 포함)를 말합니다.
2) 회사는 고객정보보호를 가장 소중하게 생각하며, 정보통신망 이용촉진 및 정보보호 등에 관한 법률(이하 “정보통신망법”이라 함) 및 개인정보보호법을 비롯한 모든 개인정보보호 관련 법률규정을 준수하고 있습니다.
3) 회사는 본 개인정보취급방침을 통하여 고객님이 제공하는 개인정보의 수집목적 및 이용목적, 개인정보보호를 위해 취하고 있는 조치 등을 알려드립니다.
4) 회사는 본 서비스의 개인정보취급방침을 위치발신장치 애플리케이션 내 이용약관 페이지를 통해 공개함으로써 고객님께서 언제나 용이하게 보실 수 있도록 조치하고 있습니다.
5) 본 서비스의 개인정보취급방침은 관련 법률 및 관련 규정의 변경 또는 내부 운영 방침의 변경에 따라 변경될 수 있습니다. 개인정보취급방침이 변경될 경우 변경된 사항을 위치발신장치 애플리케이션 내 공지사항을 통해 공지함으로써 개정된 내용을 고객님께서 쉽게 알아보실 수 있도록 하고 있습니다.
2. 개인정보의 수집 항목 및 이용 목적
1) 회사는 기본적인 서비스 제공을 위한 필수정보만을 수집하고 있습니다.
2) 회사는 이용자의 기본적 인권 침해의 우려가 있는 민감한 개인정보(인종 및 민족, 사상 및 신조, 출신지 및 본적지, 정치적 성향 및 범죄기록, 건강상태 및 성생활 등)는 수집하지 않습니다.
3) 회사는 다음과 같이 개인정보를 수집, 이용합니다.
가. 수집정보
- 일련번호, 핸드폰 기기 정보, 이름
나. 이용목적
- 고객의 설치되어 있는 App. 위치발신장치 정보, 신상 정보 확인을 통한 서비스 제공
4) 서비스에서는 법령에 따라 동의없이 수집할 수 있는 자동생성 정보(로그기록 등 서비스 계약 이행과정에서 자동적으로 생성되는 정보), 요금정산에 필요한 정보 등을 필수동의 사항에 기재된 목적범위 내에서 수집하여 이용할 수 있습니다. 또한, 서비스에서는 수집한 개인정보를 개인을 알아볼 수 없는 통계자료 등으로 가공하여 이용 또는 제공할 수 있습니다.
3. 개인정보 수집에 대한 동의
회사는 고객님께서 개인정보의 수집, 이용에 관한 내용에 대해 「동의한다」 또는 「동의하지 않는다」 버튼을 클릭할 수 있는 절차를 마련하고 있으며, 고객님께서 「동의한다」 버튼을 클릭하면 개인정보 수집에 대해 동의한 것으로 봅니다.
4. 개인정보의 수집 방법
회사는 홈페이지 및 이동전화 기타 디지털 디바이스 위치발신장치 어플리케이션에서의 가입 절차, 상담절차, 이벤트나 경품 행사, 개인정보 취급업무 수탁사 또는 제휴사 등으로부터의 수집, 이동 전화 및 유,무선 인터넷 서비스 사용시 생성정보 수집 툴을 통한 방법등으로 개인 정보를 수집합니다.
5. 수집한 개인정보의 이용 및 제3자 제공
1) 회사는 고객님의 개인정보를 개인정보취급방침의 「개인정보의 수집 및 이용목적」에서 고지한 범위 내에서 사용하며, 동 범위를 초과하여 이용하거나 타인 또는 타기업, 기관에 제공하지 않습니다. 단, 다음의 경우에는 주의를 기울여 개인정보를 이용 및 제공할 수 있습니다.
가. 제휴관계
보다 나은 서비스 제공을 위하여 고객님의 개인정보를 제휴사에게 제공하거나 또는 제휴사와 공유할 수 있습니다. 개인정보를 제공하거나 공유할 경우에는 사전에 고객님께 제휴사가 누구인지, 제공 또는 공유되는 개인정보항목이 무엇인지, 왜 그러한 개인정보가 제공되거나 공유되어야 하는지, 그리고 언제까지 어떻게 보호, 관리되는지에 대해 개별적으로 서면 또는 E-mail 등을 통해 고지하여 동의를 구하는 절차를 거치게 되며, 고객님께서 동의하지 않는 경우에는 제휴사에게 제공하거나 제휴사와 공유하지 않습니다. 제휴관계에 변화가 있거나 제휴관계가 종결될 때도 같은 절차에 의하여 고지하거나 동의를 구합니다.
나. 매각, 인수합병 등
영업의 전부 또는 일부를 양도하거나, 합병, 상속 등으로 서비스제공자의 권리, 의무를 이전 승계하는 경우 개인정보보호 관련 고객님의 권리를 보장하기 위하여 반드시 그 사실을 고객님께 통지합니다.
2) 회사는 본 서비스의 개인정보를 개인정보 수집 시 고객님께 고지하고 동의를 얻은 범위를 넘어 이용하거나 제3자에게 제공하지 않습니다. 다만, 고객님의 동의가 있거나 다음에 해당하는 경우에는 예외로 합니다.
가. 서비스의 제공에 관한 계약의 이행을 위하여 필요한 개인정보로서 경제적, 기술적인 사유로 통상의 동의를 받는 것이 현저히 곤란한 경우
나. 서비스 제공에 따른 요금정산을 위하여 필요한 경우
다. 통신비밀보호법, 국세기본법, 정보통신망법, 개인정보보호법, 금융실명거래 및 비밀보장에 관한 법률, 신용정보의 이용 및 보호에 관한 법률, 전기통신기본법, 전기통신사업법, 지방세법, 소비자기본법, 한국은행법, 형사소송법 등 다른 법률에 특별한 규정이 있는 경우. 단, '법률에 특별한 규정이 있는 경우'로 행정목적이나 수사목적으로 행정관청 또는 수사기관이 요구해 온 경우라도 무조건 고객님의 개인정보를 제공하지 않으며, 법률에 규정된 바에 따라 영장 또는 기관장의 직인이 날인된 서면에 의한 경우 등 적법한 절차에 따라 제공합니다.
라. 통계작성/학술연구 또는 시장조사를 위하여 필요한 경우로서 특정 개인을 알아볼 수 없는 형태로 가공하여 제공하는 경우
3) 개인정보 제공 현황
본 개인정보취급방침을 확인하시는 시점에 고객의 개인정보는 제3자에게 제공되지 않습니다. 향후 개인정보 제3자 제공이 있는 경우 개인정보 제공 현황은 제휴관계의 개시 또는 종료에 따라 변동이 가능하며 개인정보 제공과 함께 목록에 게시되고 제휴관계 종료 등으로 인한 개인정보의 파기와 함께 목록에서 삭제됩니다.
6. 개인정보의 열람 및 정정
1) 고객님은 언제든지 등록되어 있는 고객님의 개인정보를 열람하거나 정정하실 수 있습니다. 개인정보 열람 및 정정을 하고자 할 경우에는 애플리케이션 내의 1:1 문의, 개인정보관리책임자 및 담당자에게 서면, 전화 또는 E-mail로 연락하시면 지체 없이 조치하겠습니다.
2) 고객님께서 개인정보의 오류에 대한 정정을 요청한 경우, 정정을 완료하기 전까지 당해 개인 정보를 이용 또는 제공하지 않습니다.
3) 잘못된 개인정보를 제3자에게 이미 제공한 경우에는 정정 처리결과를 제3자에게 지체 없이 통지하여 정정하도록 조치하겠습니다.
7. 개인정보의 수집, 이용, 제공에 대한 동의 철회
1) 회원가입 등을 통해 개인정보의 수집, 이용, 제공에 대해 고객님께서 동의하신 내용을 고객님께서는 언제든지 철회하실 수 있습니다. 동의 철회는 애플리케이션 내의 1:1 문의 혹은 개인정보관리책임자에게 서면, 전화, E-mail등으로 연락하시면 지체없이 회원탈퇴를 위해 필요한 조치를 취합니다. 동의 철회를 하고 개인정보를 파기하는 등의 조치를 취한 경우에는 그 사실을 고객님께 지체 없이 통지하도록 하겠습니다.
2) 회사는 개인정보의 수집에 대한 동의철회를 개인정보를 수집하는 방법보다 쉽게 할 수 있도록 필요한 조치를 취합니다.
8. 개인정보의 보유 및 이용기간
1) 회사는 고객님의 서비스 가입일로부터 고객님께 서비스를 제공하는 기간 동안에 한하여 고객님의 개인정보를 보유 및 이용하게 됩니다. 개인정보의 수집 및 이용에 대한 동의를 철회하는 경우, 수집/이용목적을 달성하거나 보유/이용기간이 종료한 경우, 사업폐지 등의 사유발생시 당해 개인정보를 지체 없이 파기합니다. 단, 이용요금의 정산, 소송이나 분쟁 등 기타 필요한 경우를 대비하여 일정기간 보유하여야 할 필요가 있을 경우 개인정보는 해지 후 6개월 간 보유합니다.
2) 상법 및 전자상거래 등에서의 소비자보호에 관한 법률, 전자금융거래법, 여신전문금융업법 국세기본법, 법인세법, 부가가치세법 등 관련 법령의 규정에 의하여 다음과 같이 거래 관련 권리 의무 관계의 확인을 위하여 일정기간 보유하여야 할 필요가 있을 경우 개인정보는 일정기간 보유되며, 이 때 보유되는 개인정보의 열람 및 이용은 해당 사유로 국한되며, 사전에 보유목적, 기간 및 보유하는 개인정보 항목을 명시하여야 합니다.
가. 개별적으로 고객님의 동의를 받은 경우에는 약속한 보유기간
나. 통신사실확인자료 제공 시 필요한 가입자의 전기통신 일시, 전기통신 개시/종료시간, 통신번호 등 상대방의 가입자번호, 통신망에 접속된 정보통신기기의 위치 추적자료 : 12개월 (통신비밀보호법)
다. 통신사실확인자료 제공 시 필요한 로그기록자료, IP주소 등 : 3개월 (통신비밀보호법)
라. 표시/광고에 관한 기록 : 6개월 (전자상거래등에서의 소비자보호에 관한 법률)
마. 계약 또는 청약철회 등에 관한 기록: 5년 (전자상거래등에서의 소비자보호에 관한 법률(이하 “전자상거래법”이라 함))
바. 대금결제 및 재화 등의 공급에 관한 기록: 5년 (전자상거래법)
사. 소비자의 불만 또는 분쟁처리에 관한 기록: 3년 (전자상거래법)
아. 신용정보의 수집/처리 및 이용 등에 관한 기록 : 3년 (신용정보의 이용 및 보호에 관한 법률)
3) 고객님의 동의를 받아 보유하고 있는 거래정보에 대해 고객님께서 열람을 요구하는 경우에는 지체 없이 해당 정보를 열람/ 확인할 수 있도록 조치합니다.
9. 개인정보 파기 절차 및 방법
회사는 수집한 개인정보의 이용목적이 달성된 후에는 보관기간 및 이용기간에 따라 해당 정보를 지체 없이 파기합니다. 파기절차, 방법, 시점은 다음과 같습니다.
1) 파기절차 및 시점
고객님이 서비스 가입 등을 위해 기재한 개인정보는 서비스 해지 등 이용목적이 달성된 후 내부 방침 및 기타 관련 법령에 의한 정보보호 사유(위 개인정보의 보유 및 이용기간 참조)에 따른 보유기간이 경과한 후에 삭제되거나 파기합니다. 일반적으로 잔존하는 채권, 채무 관계가 없는 경우 본 서비스 회원가입 시 수집되어 전자적 파일형태로 관리하는 개인정보는 회원 탈퇴 시점에 바로 삭제 됩니다.
2) 파기방법
종이에 출력된 개인정보는 분쇄기로 분쇄 또는 소각하거나 화학약품 처리를 하여 용해하여 파기하고, 전자적 파일형태로 저장된 개인정보는 기록을 재생할 수 없는 기술적 방법을 사용하여 삭제합니다.
10. 만 14세 미만 아동의 법정대리인의 권리와 그 행사 방법
만 14세 미만 아동은 서비스를 이용할 수 없습니다. 만약 회사가 만 14세 미만의 아동으로부터 개인정보 수집•이용•제공하는 경우, 관련 법령에 따라 그 법정대리인의 동의를 받습니다. 이 경우 회사는 그 아동에게 법정대리인의 동의를 받기 위하여 필요한 법정대리인의 성명 등 최소한의 정보를 요구할 수 있습니다.
만 14세 미만 아동의 법정대리인은 아동의 개인정보에 대한 열람, 수정 및 삭제를 요청할 수 있으며, 회사는 이러한 요청에 지체 없이 필요한 조치를 취합니다.
11. 이용자의 권리와 의무
1) 회사는 고객님의 의견을 매우 소중하게 생각하며, 고객님은 의문사항으로부터 언제나 성실한 답변을 받을 권리가 있습니다.
2) 고객님의 개인정보를 최신의 상태로 정확하게 입력하여 불의의 사고를 예방해 주시기 바랍니다. 입력한 부정확한 정보로 인해 발생하는 사고의 책임은 고객님께 있으며 타인 정보의 도용 등 허위정보를 입력할 경우 회원자격이 상실될 수 있습니다.
3) 고객님은 개인정보를 보호받을 권리와 함께 고객님 자신의 개인정보를 보호하고 타인의 정보를 침해하지 않을 의무도 가지고 있습니다. 고객님의 개인정보가 유출되지 않도록 조심하시고 게시물을 포함한 타인의 개인정보를 훼손하지 않도록 유의해 주십시오. 만약 이 같은 책임을 다하지 못하고 타인의 정보를 훼손할 시에는 정보통신망법 등에 의해 처벌받을 수 있습니다.
12. 개인정보 자동수집장치의 설치, 운영 및 그 거부에 대한 사항
1) 웹 접속 후 저장 된 정보, 그 외의 다른 정보는 수집하지 않습니다.
13. 개인정보취급방침의 고지 또는 통지방법
1) 회사가 고객님이 동의한 범위를 넘어 고객님의 개인정보를 이용하거나 제3자에게 제공하기 위해 고객님의 추가적인 동의를 얻고자 하는 때에는 미리 고객님께 개별적으로 서면, E-mail, 전화, 애플리케이션 내 문의게시판 등에 개재하는 방법 등으로 해당사항을 통지하고 이에 대한 동의를 얻습니다.
2) 타인에게 고객님의 개인정보의 수집, 보관, 처리, 이용, 제공, 관리, 파기 등을 위탁하는 경우에는 애플리케이션 내의 개인정보취급방침을 통하여 공지사항에 공개합니다.
3) 회사가 영업의 전부 또는 일부를 양도하거나 합병, 상속 등으로 그 권리, 의무를 이전하는 경우 서면, E-mail 등을 통하여 고객님께 개별적으로 통지합니다. 다만, 서면, E-mail 기타의 방법에 의한 통지는 과실 없이 고객님의 연락처를 알지 못하는 경우에는 애플리케이션 내 공지사항에 30일 이전에 게시하고, 천재, 지변 그 밖에 정당한 사유로 위 홈페이지 게시가 곤란한 경우에는 2곳 이상의 일반일간신문(고객님의 대부분이 특정 지역에 거주하는 경우에는 그 지역을 보급구역으로 하는 일반일간신문으로 할 수 있습니다)에 1회 이상 공고하는 것으로 갈음합니다.
14. 개인정보보호를 위한 기술 및 관리적 대책
본 서비스에서는 고객님의 개인정보를 보호하기 위해 기술적 대책과 관리적 대책을 마련하고 있으며, 이를 적용하고 있습니다.
1) 기술적 대책
회사는 고객님의 개인정보를 취급함에 있어 개인정보가 분실, 도난, 누출, 변조 또는 훼손되지 않도록 안전성 확보를 위하여 다음과 같은 기술적 대책을 강구하고 있습니다.
가. 고객님의 개인정보는 비밀번호에 의해 보호되며 파일 및 전송데이터를 암호화하거나 파일 잠금 기능(Lock)을 사용하여 중요한 데이터는 별도의 보안기능을 통해 보호되고 있습니다.
나. 회사는 백신프로그램을 이용하여 컴퓨터 바이러스에 의한 피해를 방지하기 위한 조치를 취하고 있습니다. 백신프로그램은 주기적으로 업데이트되며 갑작스런 바이러스가 출현할 경우 백신이 나오는 즉시 이를 제공함으로써 개인정보가 침해되는 것을 방지하고 있습니다.
다. 회사는 암호알고리즘을 이용하여 네트워크 상의 개인정보를 안전하게 전송할 수 있는 보안장치(SSL 또는 SET)를 채택하고 있습니다.
라. 회사는 해킹 등 외부침입에 대비하여 각 서버마다 침입차단시스템 및 취약점 분석시스템 등을 이용하여 보안에 만전을 기하고 있습니다.
2) 관리적 대책
가. 회사는 고객님의 개인정보에 대한 접근권한을 최소한의 인원으로 제한하고 있습니다. 그 최소한의 인원에 해당하는 자는 다음과 같습니다.
- 이용자를 직접 상대로 하여 마케팅 업무를 수행하는 자
- 개인정보관리책임자 및 담당자 등 개인정보관리업무를 수행하는 자
- 기타 업무상 개인정보의 취급이 불가피한 자
나. 회사는 고객님의 개인정보에 대한 접근 및 관리에 필요한 절차 등을 마련하여 소속 직원으로 하여금 이를 숙지하고 준수하도록 하고 있으며, 개인정보를 취급하는 직원을 대상으로 새로운 보안 기술 습득 및 개인정보보호 의무 등에 관해 정기적인 사내 교육 및 외부 위탁교육을 실시하고 있습니다.
다. 개인정보 관련 취급자의 업무 인수인계는 보안이 유지된 상태에서 철저하게 이뤄지고 있으며 입사 및 퇴사 후 개인정보 사고에 대한 책임을 명확히 하고 있습니다.
라. 회사는 컴퓨터를 이용하여 고객님의 개인정보를 처리하는 경우 개인정보에 대한 접근권한을 가진 담당자를 지정하여 ID 및 PASSWORD를 부여하고, 해당 PASSWORD를 정기적으로 갱신하고 있습니다.
마. 회사는 신규직원 채용 시 정보보호서약서 또는 개인정보보호서약서에 서명함으로 직원에 의한 정보유출을 사전에 방지하고 개인정보취급방침에 대한 이행사항 및 직원의 준수여부를 감사하기 위한 내부절차를 마련하여 지속적으로 시행하고 있습니다.
바. 회사는 직원 퇴직 시 비밀유지서약서에 서명함으로 회원의 개인정보를 취급하였던 자가 직무상 알게 된 개인정보를 훼손/침해 또는 누설하지 않도록 하고 있습니다.
사. 회사는 고객님 개인의 실수나 기본적인 인터넷의 위험성 때문에 일어나는 일들에 대해 책임을 지지 않습니다. 회원의 경우 개개인이 본인의 개인정보를 보호하기 위해서 자신의 개인정보를 적절하게 관리하고 여기에 대한 책임을 져야 합니다.
아. 그 외 내부 관리자의 실수나 기술관리 상의 사고로 인해 개인정보의 상실, 유출, 변조, 훼손이 유발될 경우 회사는 지체없이 고객님께 사실을 알리고 적절한 대책과 보상을 강구할 것입니다.
15. 개인정보에 관한 민원서비스
1) 회사는 고객님과의 원활한 의사소통을 위해 고객센터 등 고객상담창구를 운영하고 있으며 고객님께서 문의사항이 있으실 경우 아래의 연락처로 문의하시면 언제든 성실한 답변을 받으실 수 있습니다.
가. 사이버상담: 위치발신장치 애플리케이션 내 Q&A 코너상담에서 사이버 상담원에게 질문을 하실 수 있습니다.
2) 회사는 회원의 개인정보를 보호하고 개인정보와 관련한 불만을 처리하기 위하여 아래와 같이 관련 부서 및 개인정보관리책임자를 지정하고 있습니다.
- 개인정보관리 책임자 : (주)펀월드 대표이사
- 개인정보관리 담당자 : 유경환
- 소속부서 : 개발팀
- 전화번호 : 032-544-7777
- E-mail : ceo@funworld.co.kr
3) 기타 개인정보 침해에 관한 상담이 필요한 경우에는 한국정보보호진흥원 개인정보침해신고센터, 경찰청 사이버테러대응센터 등으로 문의하실 수 있습니다.
가. 개인정보침해신고센터
- 전화: 118
- URL: http://privacy.kisa.or.kr
나. 대검찰청 사이버범죄수사단
- 전화: 02-3480-3571
- E-mail: cybercid@spo.go.kr
다. 경찰청 사이버테러대응센터
- 전화: 1566-0112
- URL: http://www.netan.go.kr
16. 아동의 개인정보보호
만 14세 미만 아동은 서비스를 이용할 수 없습니다. 만약 회사가 “서비스” 이용과 관련하여 만 14세 미만 아동(이하 “아동”이라 함)의 개인정보를 수집/이용/제공하는 경우, 해당 아동의 개인정보로 인하여 아동 및 그의 법정대리인이 불이익을 입지 않도록 보호 조치를 취하고 있습니다.
회사는 “서비스” 관련, 아동의 개인정보에 대하여 아래의 행위를 하는 경우에는 해당 아동의 법정대리인의 동의를 얻도록 하고 있습니다.
아동의 “서비스” 가입을 위해 개인정보 수집하거나 “서비스” 가입 시 고지한 범위 또는 서비스이용약관에 명시한 범위를 넘어 이동의 개인정보를 이용하거나 제3자에게 제공하고자 하는 경우
아동의 개인정보를 제공받은 자가 개인정보를 제공받은 목적 외의 용도로 이용하거나 제3자에게 제공하는 경우
이 경우 회사는 법정대리인의 동의를 얻기 위하여 법정대리인의 성명, 연락처 등 필요한 최소한의 정보를 요구할 수 있습니다. 이 경우 개인정보의 수집 · 이용 또는 제공 목적 및 법정대리인의 동의가 필요하다는 취지를 아동이 쉽게 이해 할 수 있는 평이한 표현으로 아동에게 고지합니다.
법정대리인의 동의를 얻기 위하여 수집한 법정대리인의 개인정보를 해당 법정대리인의 동의 여부를 확인하는 목적 외의 용도로 이를 이용하거나 제 3 자에게 제공하지 않습니다.
17. 광고성 정보 전송
1) 회사는 고객의 사전 동의 없이 영리목적의 광고성 정보를 전송하지 않습니다.
2) 회사는 신상품이나 이벤트 정보안내 등 고객 지향적인 마케팅을 수행하기 위하여 광고성 정보를 E-mail으로 전송하는 경우에는 광고성 정보 전송에 대한 고객의 사전 동의를 득하고 E-mail의 제목란 및 본문란에 아래와 같이 고객이 광고성 정보임을 쉽게 알아 볼 수 있도록 조치합니다.
- E-mail의 제목란 : '(광고)' 또는 '(성인광고)'라는 문구를 제목란의 처음에 빈칸 없이 한글로 표시하고 이어서 E-mail 본문란의 주요 내용을 표시합니다.
3) 광고수신에 동의한 고객에게 팩스ㆍ이동전화 문자메시지 전송 등 E-mail 이외의 방법을 통해 영리목적의 광고성 정보를 전송하는 경우에도 전송자의 명칭을 표기하는 등 필요한 조치를 취합니다.
4) 서비스에서는 고객의 광고성 정보 수신동의시, 수신거부시, 수신동의 철회 시 해당 사실을 고객에게 해당 사실 발생일로부터 14일내에 고지합니다. 또한 고객이 광고성 정보 수신동의를 한 날로부터 매 2년 마다 고객의 광고성 정보 수신동의 사실을 고객에게 확인합니다.
18. 1년간 서비스 미이용자의 개인정보 분리보관 또는 파기
서비스는 1년간 서비스를 이용하지 않은 고객의 개인정보를 분리보관하거나 파기합니다. 서비스에서 1년간 서비스를 이용하지 않은 것으로 판단하는 기준은 다음과 같습니다.
- 1년간 서비스 로그기록이 없는 경우
서비스에서는 상기 분리보관 또는 파기일의 30일전까지 서비스에서 수집한 연락처로 개인정보의 분리보관 또는 파기사실을 통지합니다. 단, 서비스에서 연락처를 수집하지 않는 경우에는 본 개인정보 취급방침의 내용으로 갈음합니다.
위치발신장치 서비스 이용약관
제1조 (목적)
이 약관은 (주)펀월드(이하 “회사”)가 제공하는 서비스인 위치발신장치 서비스(이하 “서비스”)의 이용과 관련하여 “회사”와 “이용자”와의 권리, 의무 및 책임사항, 기타 필요한 사항을 규정함을 목적으로 합니다.
제 2 조 (정의)
① 이 약관에서 사용하는 용어의 정의는 다음 각호와 같습니다.
1."위치발신장치 서비스"(이하 “서비스”라 한다)라 함은 “회사”가 운영하고 제공하는 서비스로, 이용자가 “물감지” 기능 및 "Bluetooth" 기능을 지원하는 휴대형 단말기를 이용하여 물에 빠지면 자동으로 위치 정보들 지인들에게 전송해 주는 어플리케이션을 말합니다.
2.“전용 어플리케이션”(이하 “앱”이라 함)이라 함은 “서비스” 이용을 위해 단말기에 설치되는 어플리케이션을 말합니다.
3.“Bluetooth”란 2400MHz에서 2483.5MHz까지의 대역을 가지는 근거리 무선 통신 기술을 말한다.
4.“이용자”란 “회사”의 정책에 따라 본 약관에 동의함으로써 본 “서비스”를 이용할 수 있는 고객을 말한다.
② 본 약관에서 사용하는 용어의 정의는 제1항에서 정하는 것을 제외하고는 관계 법령 및 상관례에서 정하는 바에 의합니다.
제 3 조 (서비스 내용)
① ”회사”가 제공하는 “서비스”의 내용은 다음 각호와 같습니다.
1.이용자가 “앱”과 "물감지" 기능을 통해 위치 정보 전송 기능
2.이용자가 “앱”를 통해 위치정보를 전송 기능
3.이용자가 “앱”를 통해 조명 조절 기능
② 이용자는 “회사”가 제공하는 “앱”을 설치하여 “서비스”를 이용할 수 있습니다.
제 4 조 (약관의 게시와 개정)
①본 약관은 변경될 수 있으며, “회사”가 약관을 개정할 경우에는 적용일자 및 개정사유를 명시하여 현행약관과 함께 초기화면에 그 개정약관의 적용일자 15일 전부터 적용일자 전일까지 공지합니다. 다만, 이용자에게 불리한 약관의 개정의 경우에는 최소한 30일 이상의 사전 유예기간을 두고 공지하며, 일정기간 “서비스” 이용 시 동의창, SMS 등의 전자적 수단을 통해 따로 명확히 통지하도록 합니다.
②“회사”가 전항에 따라 개정약관을 공지 또는 통지하면서 이용자에게 30일 기간 내에 의사표시를 하지 않으면 의사표시가 표명된 것으로 본다는 뜻을 명확하게 공지 또는 통지하였음에도 이용자가 명시적으로 거부의 의사표시를 하지 아니한 경우 이용자가 개정약관에 동의한 것으로 봅니다.
③이용자가 개정약관의 적용에 동의하지 않는 경우 “회사”는 개정 약관의 내용을 적용할 수 없으며, 이 경우 이용자는 이용계약을 해지할 수 있습니다. 다만, 기존 약관을 적용할 수 없는 특별한 사정이 있는 경우에는 “회사”는 이용계약을 해지할 수 있습니다.
제 5 조 (서비스 이용계약 체결 및 승낙, 거부, 유보)
①이용계약은 이용자가 약관의 내용에 대하여 동의를 한 다음 “회사”가 이러한 신청에 대하여 승낙함으로써 체결됩니다.
②“회사”는 이용자의 신청에 대하여 서비스 이용을 승낙함을 원칙으로 합니다. 다만, “회사”는 다음 각 호에 해당하는 신청에 대하여는 승낙을 하지 않거나 사후에 이용계약을 해지할 수 있습니다.
1.다른 사람을 도용하여 신청하는 경우
2.이용자의 귀책사유로 인하여 승인이 불가능하거나 기타 규정한 제반 사항을 위반하며 신청하는 경우
3.기타 이용자로서 부적절한 행위를 할 우려가 있다고 인정되거나 “서비스”를 정상적으로 이용할 수 없다고 합리적으로 판단되는 경우
③“회사”는 “서비스” 관련 설비의 여유가 없거나, 기술상 또는 업무상 문제가 있는 경우에는 승낙을 유보할 수 있습니다.
제 6 조 (“회사”의 의무)
①“회사”는 관련 법률과 본 약관이 금지하거나 미풍양속에 반하는 행위를 하지 않으며, 계속적이고 안정적으로 "서비스"를 제공하기 위하여 최선을 다합니다.
②“회사”는 이용자가 안전하게 "서비스"를 이용할 수 있도록 개인정보(신용정보 포함)보호를 위해 보안시스템을 갖추어야 하며 개인정보취급방침을 공시하고 준수합니다.
③”회사”는 “단말기”의 위조나 변조로 발생한 사고로 인하여 이용자에게 발생한 손해에 대하여 배상책임이 없습니다.
④”회사”는 “서비스” 제공자로서 관련 법령에서 정하는 기간동안 개인정보를 보관합니다. 또한 보관중인 자료에 대하여 권리가 있는 자의 요청이 있는 경우 관련 자료를 제공할 수 있습니다.
⑤“회사”는 “서비스” 이용과 관련하여 이용자로부터 제기된 의견이나 불만이 정당하다고 인정할 경우에는 이를 처리하여야 합니다. 이용자가 제기한 의견이나 불만사항에 대해서는 게시판을 활용하거나 전자우편 등을 통하여 이용자에게 처리과정 및 결과를 전달합니다.
제 7 조 (이용자의 의무)
① 이용자는 다음 행위를 하여서는 안 됩니다.
1.타인의 정보도용
2.“회사”가 게시한 정보의 변경
3.“회사”가 정한 정보 이외의 정보(컴퓨터 프로그램 등) 등의 송신 또는 게시
4.“회사”와 기타 제3자의 저작권 등 지적재산권에 대한 침해
5.“회사” 및 기타 제3자의 명예를 손상시키거나 업무를 방해하는 행위
6.“회사”의 동의 없이 영리를 목적으로 "서비스"를 사용하는 행위
7.“회사”의 “서비스”를 이용하여 얻은 정보를 “회사”의 사전 승낙 없이 복제, 유통, 상업적으로 이용
8.기타 불법적이거나 부당한 행위
② 이용자는 관련 법률, 본 약관의 규정, 이용안내 및 "서비스"와 관하여 공지한 주의사항, “회사”가 통지하는 사항 등을 준수하여야 하며, 기타 “회사”의 업무에 방해되는 행위를 하여서는 안 됩니다.
제 8 조 ("서비스"의 중단 및 변경)
①"서비스"는 업무상 또는 기술상 특별한 지장이 없는 한 연중무휴, 1일 24시간 제공함을 원칙으로 합니다.
②“회사”는 컴퓨터 등 정보통신설비의 보수점검, 교체 및 고장, 통신두절 또는 운영상 상당한 이유가 있는 경우 "서비스"의 제공을 일시적으로 중단할 수 있습니다.
③“회사”는 운영상, 기술상 상당한 이유가 있는 경우 필요에 따라 제공하고 있는 "서비스"의 전부 또는 일부를 제한하거나 변경할 수 있습니다.
④“회사”는 천재지변, 국가비상사태 등 불가항력적 사유가 있는 경우 “서비스”의 전부 또는 일부를 제한하거나 변경할 수 있습니다.
⑤“회사”는 “서비스”의 제공에 필요한 경우 정기점검을 실시할 수 있으며, 정기점검시간은 “서비스” 초기화면에 공지한 바에 따릅니다. 다만, “회사”가 사전에 통지할 수 없는 부득이한 사유가 있는 경우 사후에 통지할 수 있습니다.
⑥“회사”는 “서비스”의 변경, 중단으로 발생하는 문제에 대해서 “회사”에 고의, 중과실이 없는 한 어떠한 책임도 지지 않습니다.
제 9 조 (이용자에 대한 통지)
①“회사”가 이용자에 대한 통지는 본 약관에 별도 규정이 없는 한 단문 메시지 등 기타의 방법으로 할 수 있습니다.
②“회사”는 이용자 전체에 대한 통지의 경우 15일 이상 “회사”의 게시판에 게시하거나 기타의 방법으로 통지할 수 있습니다.
제 10 조 (정보의 제공 및 광고의 게재)
①“회사”는 "서비스"의 운영과 관련하여 다양한 정보 및 광고를 “서비스” 초기화면, 홈페이지 공지사항이나 기타 등의 방법으로 이용자에게 제공할 수 있습니다. 다만, 이용자는 관련 법률에 따른 거래관련 정보 및 고객문의 등에 대한 답변 등을 제외하고는 언제든지 전자우편 등에 대해서 수신 거절을 할 수 있습니다.
②제1항의 정보를 전화 및 E-mail 등에 의하여 전송하려고 하는 경우에는 이용자의 사전 동의를 받아서 전송합니다. 다만, 이용자의 정보 및 고객문의 등에 대한 회신에 있어서는 제외됩니다.
제 11 조 (권리의 귀속)
①"서비스"에 대한 저작권 및 지적재산권은 “회사”에 귀속됩니다.
②”회사”는 “서비스”와 관련하여 이용자에게 “회사”가 정한 이용조건에 따라 ”서비스” 등을 이용할 수 있는 이용권만을 부여하며, 이용자는 이를 양도, 판매, 담보제공 등의 처분행위를 할 수 없습니다.
제 12 조 (이용제한 등)
①”회사”는 다음과 같은 사유가 있는 경우, "서비스" 이용을 제한하거나 “서비스”의 이용계약을 해지할 수 있습니다.
1.이용자의 이용계약 신청에 승낙거부 사유가 있음이 확인된 경우
2.이용자가 “회사”가 제공하는 “서비스”를 그 목적에 벗어나거나 위배하여 이용한 것으로 확인된 경우
3.이용자가 다른 이용자 또는 기타 타인의 권리나 명예, 신용, 정당한 이익을 방해하거나 침해한 경우
4.이용자가 “회사”의 권리나 명예, 정당한 이익을 방해 또는 침해하거나 “회사”의 원활한 “서비스” 제공을 방해 하거나 방해하고자 시도한 경우
5.이용자가 사회의 안녕질서, 공공질서, 미풍양속에 위배되는 거래행위를 하거나 시도한 경우
6.기타 이용자가 법령 및 약관에 위배되는 행위를 한 경우
②본 조에 따라 "서비스" 이용을 제한하거나 계약을 해지하는 경우에는 “회사”는 제9조[이용자에 대한 통지]에 따라 통지합니다.
③이용자는 본 조에 따른 이용제한 등에 대해 “회사”가 정한 절차에 따라 이의신청을 할 수 있습니다. 이 때 이의가 정당하다고 “회사”가 인정하는 경우 “회사”는 즉시 "서비스"의 이용을 재개합니다.
제 13 조 (개인정보보호 의무)
①“회사”는 "정보통신망 이용촉진 및 정보보호 등에 관한 법률"(이하 “정통망법”) 등 관련 법률이 정하는 바에 따라 이용자의 개인정보를 보호하기 위해 노력합니다. 개인정보의 보호 및 사용에 대해서는 관련 법률 및 “회사”의 개인정보취급방침이 적용됩니다.
②“회사”가 이용자의 개인식별이 가능한 개인정보를 수집하는 때에는 반드시 해당 “이용자”의 동의를 받습니다.
③제공된 개인정보는 당해 이용자의 동의없이 목적 외의 이용이나 제3자에게 제공할 수 없으며, 이에 대한 모든 책임은 “회사”가 집니다. 다만, 다음의 경우에는 예외로 합니다.
1.통계작성, 학술연구 또는 시장조사를 위하여 필요한 경우로서 특정 개인을 식별할 수 없는 형태로 제공하는 경우
2.도용방지를 위하여 본인확인에 필요한 경우
3.법률의 규정 또는 법률에 의하여 필요한 불가피한 사유가 있는 경우
제 14 조 (손해배상)
①“이용자”는 본 약관의 규정을 위반함으로 인하여 “회사”에 손해가 발생하게 되는 경우, 본 약관을 위반한 회원은 회사에 발생하는 모든 손해를 배상하여야 합니다.
②“이용자”가 서비스를 이용함에 있어 행한 불법행위나 본 약관 위반행위로 인하여 회사가 당해 “이용자” 이외의 제3자로부터 손해배상 청구 또는 소송을 비롯한 각종 이의제기를 받는 경우 당해 “이용자”는 자신의 책임과 비용으로 회사를 면책시켜야 하며, 당해 “이용자”는 그로 인하여 회사에 발생한 모든 손해를 배상하여야 합니다.
제 15 조 (책임제한)
①“회사”는 천재지변 또는 이에 준하는 불가항력으로 인하여 "서비스"를 제공할 수 없는 경우에는 "서비스" 제공에 관한 책임이 면제됩니다.
②“회사”는 이용자의 귀책사유로 인한 "서비스" 이용의 장애에 대하여는 책임을 지지 않습니다.
③“회사”는 이용자가 "서비스"를 이용하여 기대하는 수익을 상실한 것에 대하여 책임을 지지 않으며 서비스를 통하여 얻은 자료로 인한 손해 등에 대하여도 책임을 지지 않습니다.
④“회사”는 이용자 상호간 또는 이용자와 제3자 상호간에 서비스를 매개로 발생한 분쟁에 대해서는 개입할 의무가 없으며 이로 인한 손해를 배상할 책임도 없습니다.
제 16 조 (준거법 및 재판관할)
①“회사”와 이용자 간 제기된 소송은 대한민국 법령을 준거법으로 합니다.
②”서비스” 이용으로 발생한 분쟁에 대해 소송이 제기될 경우 민사소송법상의 관할법원에 소를 제기할 수 있습니다.
[앱에서 필요한 권한]
1. 위치
2. 블루투스
3. SMS
위의 필요 정보를 수집하여 표기된 목적 이외에 다른 용도로는 사용하지 않습니다.
[부칙]
(시행일) 이 약관은 2022년 12월 18일부터 시행합니다.
상기 약관은 이용자 고지 없이 변경 될 수 있습니다.
위치기반서비스 이용약관
제1장 총 칙
제 1 조 (목적) 본 약관은 회원(위치발신장치서비스 약관에 동의한 자를 말합니다. 이하 “회원”이라고 합니다.)이 (주)펀월드(이하 “회사”라고 합니다.)이 제공하는 위치발신장치 서비스(이하 “서비스”라고 합니다)를 이용함에 있어 회사와 회원의 권리·의무 및 책임사항을 규정함을 목적으로 합니다.
제 2 조 (이용약관의 효력 및 변경)
①본 약관은 서비스를 신청한 고객 또는 개인위치정보주체가 본 약관에 동의하고 회사가 정한 소정의 절차에 따라 서비스의 이용자로 등록함으로써 효력이 발생합니다.
②회원이 온라인에서 본 약관의 "동의하기" 버튼을 클릭하였을 경우 본 약관의 내용을 모두 읽고 이를 충분히 이해하였으며, 그 적용에 동의한 것으로 봅니다.
③회사는 위치정보의 보호 및 이용 등에 관한 법률, 콘텐츠산업 진흥법, 전자상거래 등에서의 소비자보호에 관한 법률, 소비자기본법 약관의 규제에 관한 법률 등 관련법령을 위배하지 않는 범위에서 본 약관을 개정할 수 있습니다.
④회사가 약관을 개정할 경우에는 기존약관과 개정약관 및 개정약관의 적용일자와 개정사유를 명시하여 현행약관과 함께 그 적용일자 10일 전부터 적용일 이후 상당한 기간 동안 공지만을 하고, 개정 내용이 회원에게 불리한 경우에는 그 적용일자 30일 전부터 적용일 이후 상당한 기간 동안 각각 이를 서비스 홈페이지에 게시하거나 회원에게 전자적 형태(전자우편, SMS 등)로 약관 개정 사실을 발송하여 고지합니다.
⑤회사가 전항에 따라 회원에게 통지하면서 공지 또는 공지∙고지일로부터 개정약관 시행일 7일 후까지 거부의사를 표시하지 아니하면 이용약관에 승인한 것으로 봅니다. 회원이 개정약관에 동의하지 않을 경우 회원은 이용계약을 해지할 수 있습니다.
제 3 조 (관계법령의 적용) 본 약관은 신의성실의 원칙에 따라 공정하게 적용하며, 본 약관에 명시되지 아니한 사항에 대하여는 관계법령 또는 상관례에 따릅니다.
제 4 조 (서비스의 내용) 회사가 제공하는 서비스는 아래와 같습니다.
①서비스명 : 위치발신장치
②서비스내용 : 고객정보 및 위치정보를 이용한 긴급 위치 좌표 지인에게 전송 기능
제 5 조 (서비스 이용요금)
①회사가 제공하는 서비스는 기본적으로 유,무료입니다.
②무선 서비스 이용 시 발생하는 데이터 통신료는 별도이며 가입한 각 이동통신사의 정책에 따릅니다.
③MMS 등으로 게시물을 등록할 경우 발생하는 요금은 이동통신사의 정책에 따릅니다.
제 6 조 (서비스내용변경 통지 등)
①회사가 서비스 내용을 변경하거나 종료하는 경우 회사는 회원의 등록된 전자우편 주소로 이메일을 통하여 서비스 내용의 변경 사항 또는 종료를 통지할 수 있습니다.
②①항의 경우 불특정 다수인을 상대로 통지를 함에 있어서는 웹사이트 등 기타 회사의 공지사항을 통하여 회원들에게 통지할 수 있습니다.
제 7 조 (서비스이용의 제한 및 중지)
①회사는 아래 각 호의 1에 해당하는 사유가 발생한 경우에는 회원의 서비스 이용을 제한하거나 중지시킬 수 있습니다.
1. 회원이 회사 서비스의 운영을 고의 또는 중과실로 방해하는 경우
2. 서비스용 설비 점검, 보수 또는 공사로 인하여 부득이한 경우
3. 전기통신사업법에 규정된 기간통신사업자가 전기통신 서비스를 중지했을 경우
4. 국가비상사태, 서비스 설비의 장애 또는 서비스 이용의 폭주 등으로 서비스 이용에 지장이 있는 때
5. 기타 중대한 사유로 인하여 회사가 서비스 제공을 지속하는 것이 부적당하다고 인정하는 경우
②회사는 전항의 규정에 의하여 서비스의 이용을 제한하거나 중지한 때에는 그 사유 및 제한기간 등을 회원에게 알려야 합니다.
제 8 조 (개인위치정보의 이용 또는 제공)
①회사는 개인위치정보를 이용하여 서비스를 제공하고자 하는 경우에는 미리 이용약관에 명시한 후 개인위치정보주체의 동의를 얻어야 합니다.
②회원 및 법정대리인의 권리와 그 행사방법은 제소 당시의 이용자의 주소에 의하며, 주소가 없는 경우에는 거소를 관할하는 지방법원의 전속관할로 합니다. 다만, 제소 당시 이용자의 주소 또는 거소가 분명하지 않거나 외국 거주자의 경우에는 민사소송법상의 관할법원에 제기합니다.
③회사는 타사업자 또는 이용 고객과의 요금정산 및 민원처리를 위해 위치정보 이용·제공․사실 확인자료를 자동 기록·보존하며, 해당 자료는 1년간 보관합니다.
④회사는 개인위치정보를 회원이 지정하는 제3자에게 제공하는 경우에는 개인위치정보를 수집한 당해 통신 단말장치로 매회 회원에게 제공받는 자, 제공일시 및 제공목적을 즉시 통보합니다. 단, 아래 각 호의 1에 해당하는 경우에는 회원이 미리 특정하여 지정한 통신 단말장치 또는 전자우편주소로 통보합니다.
1. 개인위치정보를 수집한 당해 통신단말장치가 문자, 음성 또는 영상의 수신기능을 갖추지 아니한 경우
2. 회원이 온라인 게시 등의 방법으로 통보할 것을 미리 요청한 경우
제 9 조 (개인위치정보주체의 권리)
①회원은 회사에 대하여 언제든지 개인위치정보를 이용한 위치기반서비스 제공 및 개인위치정보의 제3자 제공에 대한 동의의 전부 또는 일부를 철회할 수 있습니다. 이 경우 회사는 수집한 개인위치정보 및 위치정보 이용, 제공사실 확인자료를 파기합니다.
②회원은 회사에 대하여 언제든지 개인위치정보의 수집, 이용 또는 제공의 일시적인 중지를 요구할 수 있으며, 회사는 이를 거절할 수 없고 이를 위한 기술적 수단을 갖추고 있습니다.
③회원은 회사에 대하여 아래 각 호의 자료에 대한 열람 또는 고지를 요구할 수 있고, 당해 자료에 오류가 있는 경우에는 그 정정을 요구할 수 있습니다. 이 경우 회사는 정당한 사유 없이 회원의 요구를 거절할 수 없습니다.
1. 본인에 대한 위치정보 수집, 이용, 제공사실 확인자료
2. 본인의 개인위치정보가 위치정보의 보호 및 이용 등에 관한 법률 또는 다른 법률 규정에 의하여 제3자에게 제공된 이유 및 내용
④회원은 제1호 내지 제3호의 권리행사를 위해 회사의 소정의 절차를 통해 요구할 수 있습니다.
제 10 조 (법정대리인의 권리)
①회사는 14세 미만의 회원에 대해서는 개인위치정보를 이용한 위치기반서비스 제공 및 개인위치정보의 제3자 제공에 대한 동의를 당해 회원과 당해 회원의 법정대리인으로부터 동의를 받아야 합니다. 이 경우 법정대리인은 제9조에 의한 회원의 권리를 모두 가집니다.
②회사는 14세 미만의 아동의 개인위치정보 또는 위치정보 이용․제공사실 확인자료를 이용약관에 명시 또는 고지한 범위를 넘어 이용하거나 제3자에게 제공하고자 하는 경우에는 14세미만의 아동과 그 법정대리인의 동의를 받아야 합니다. 단, 아래의 경우는 제외합니다.
1. 위치정보 및 위치기반서비스 제공에 따른 요금정산을 위하여 위치정보 이용, 제공사실 확인자료가 필요한 경우
2. 통계작성, 학술연구 또는 시장조사를 위하여 특정 개인을 알아볼 수 없는 형태로 가공하여 제공하는 경우
제 11 조 (8세 이하의 아동 등의 보호의무자의 권리)
①회사는 아래의 경우에 해당하는 자(이하 “8세 이하의 아동”등이라 한다)의 보호의무자가 8세 이하의 아동 등의 생명 또는 신체보호를 위하여 개인위치정보의 이용 또는 제공에 동의하는 경우에는 본인의 동의가 있는 것으로 봅니다.
1. 8세 이하의 아동
2. 금치산자
3. 장애인복지법제2조제2항제2호의 규정에 의한 정신적 장애를 가진 자로서장애인고용촉진및직업재활법 제2조제2호의 규정에 의한 중증장애인에 해당하는 자(장애인복지법 제29조의 규정에 의하여 장애인등록을 한 자에 한한다)
②8세 이하의 아동 등의 생명 또는 신체의 보호를 위하여 개인위치정보의 이용 또는 제공에 동의를 하고자 하는 보호의무자는 서면동의서에 보호의무자임을 증명하는 서면을 첨부하여 회사에 제출하여야 합니다.
③보호의무자는 8세 이하의 아동 등의 개인위치정보 이용 또는 제공에 동의하는 경우 개인위치정보주체 권리의 전부를 행사할 수 있습니다.
제 12 조 (위치정보관리책임자의 지정)
①회사는 위치정보를 적절히 관리․보호하고 개인위치정보주체의 불만을 원활히 처리할 수 있도록 실질적인 책임을 질 수 있는 지위에 있는 자를 위치정보관리책임자로 지정해 운영합니다.
②위치정보관리책임자는 위치기반서비스를 제공하는 부서의 부서장으로서 구체적인 사항은 본 약관의 부칙에 따릅니다.
제 13 조 (손해배상)
①회사가 위치정보의 보호 및 이용 등에 관한 법률 제15조 내지 제26조의 규정을 위반한 행위로 회원에게 손해가 발생한 경우 회원은 회사에 대하여 손해배상 청구를 할 수 있습니다. 이 경우 회사는 고의, 과실이 없음을 입증하지 못하는 경우 책임을 면할 수 없습니다.
②회원이 본 약관의 규정을 위반하여 회사에 손해가 발생한 경우 회사는 회원에 대하여 손해배상을 청구할 수 있습니다. 이 경우 회원은 고의, 과실이 없음을 입증하지 못하는 경우 책임을 면할 수 없습니다.
제 14 조 (면책)
①회사는 다음 각 호의 경우로 서비스를 제공할 수 없는 경우 이로 인하여 회원에게 발생한 손해에 대해서는 책임을 부담하지 않습니다.
1. 천재지변 또는 이에 준하는 불가항력의 상태가 있는 경우
2. 서비스 제공을 위하여 회사와 서비스 제휴계약을 체결한 제3자의 고의적인 서비스 방해가 있는 경우
3. 회원의 귀책사유로 서비스 이용에 장애가 있는 경우
4. 제1호 내지 제3호를 제외한 기타 회사의 고의∙과실이 없는 사유로 인한 경우
②회사는 서비스 및 서비스에 게재된 정보, 자료, 사실의 신뢰도, 정확성 등에 대해서는 보증을 하지 않으며 이로 인해 발생한 회원의 손해에 대하여는 책임을 부담하지 아니합니다.
제 15 조 (규정의 준용)
①본 약관은 대한민국법령에 의하여 규정되고 이행됩니다.
②본 약관에 규정되지 않은 사항에 대해서는 관련법령 및 상관습에 의합니다.
제 16 조 (분쟁의 조정 및 기타)
①회사는 위치정보와 관련된 분쟁에 대해 당사자간 협의가 이루어지지 아니하거나 협의를 할 수 없는 경우에는 위치정보의보호및이용 등에관한 법률 제28조의 규정에 의한 방송통신위원회에 재정을 신청할 수 있습니다.
②회사 또는 고객은 위치정보와 관련된 분쟁에 대해 당사자간 협의가 이루어지지 아니하거나 협의를 할 수 없는 경우에는 개인정보보호법 제43조의 규정에 의한 개인정보분쟁조정위원회에 조정을 신청할 수 있습니다.
제 17 조 (회사의 연락처) 회사의 상호 및 주소 등은 다음과 같습니다.
1. 상 호 : (주) 펀월드
2. 대 표 자 : 유경환
3. 주 소 : 인천광역시 계양구 아나지로 409번길 9
4. 대표전화 : 032-544-7777
부 칙
상기 약관은 이용자 고지 없이 변경 될 수 있습니다.
제1조 (시행일) 이 약관은 2022년 12월 18일부터 시행한다.
제2조 위치정보관리책임자는 2022년 12월을 기준으로 다음과 같이 지정합니다.
1. 소 속 : 펀월드 어플리케이션 개발팀
2. CS연락처 : 032-544-7777
위치정보사업 이용약관
제 1조 (목적)
본 약관은 주식회사‘펀월드’(이하 ‘회사’라 합니다)이 위치기반서비스(이하 '서비스'라 합니다)를 회사의 이용약관에 동의한 개인위치정보주체에게 제공하기 위하여 회사가 개인위치정보주체의 개인위치정보를 수집하고, 개인위치정보주체의 개인위치정보를 개인위치정보주체 및 제3자에게 제공함에 있어 필요한, 회사와 개인위치정보주체, 회사의 권리·의무 및 책임사항을 규정함을 목적으로 합니다.
제 2조 (이용약관의 효력 및 변경 및 관계법령의 적용)
① 본 약관은 서비스를 신청한 고객 또는 개인위치정보주체가 본 약관에 동의하고 회사가 정한 소정의 절차에 따라 서비스의 이용자로 등록함으로써 효력이 발생합니다.
② 회원이 서비스 전용 앱에서 본 약관의 ‘동의하기’ 버튼을 클릭하였을 경우 본 약관의 내용을 모두 읽고 이를 충분히 이해하였으며, 그 적용에 동의한 것으로 봅니다.
③ 회사는 위치정보의 보호 및 이용 등에 관한 법률, 콘텐츠산업 진흥법, 전자상거래 등에서의 소비자보호에 관한 법률, 소비자기본법 약관의 규제에 관한 법률 등 관련법령을 위배하지 않는 범위에서 본 약관을 개정할 수 있습니다.
④ 회사가 약관을 개정할 경우에는 기존약관과 개정약관 및 개정약관의 적용일자와 개정사유를 명시하여 현행약관과 함께 그 적용일자 10일 전부터 적용일 이후 상당한 기간 동안 공지만을 하고, 개정 내용이 회원에게 불리한 경우에는 그 적용일자 30일 전부터 적용일 이후 상당한 기간 동안 각각 이를 서비스 홈페이지에 게시하거나 회원에게 전자적 형태(서비스 전용 앱의 푸쉬 알림, SMS 등)로 약관 개정 사실을 발송하여 고지합니다.
⑤ 회사가 전항에 따라 회원에게 통지하면서 공지 또는 공지∙고지일로부터 개정약관 시행일 7일 후까지 거부의사를 표시하지 아니하면 이용약관에 승인한 것으로 봅니다. 회원이 개정약관에 동의하지 않을 경우 회원은 이용계약을 해지할 수 있습니다.
⑥ 이 약관에 명시되지 않은 사항에 대해서는 위치정보의 보호 및 이용 등에 관한 법률, 전기통신사업법, 정보통신망 이용촉진 및 보호 등에 관한 법률 등 관계 법령과 회사의 이용약관 및 회사가 별도로 정한 서비스의 세부이용지침 등의 규정에 따릅니다.
제 3조 (개인위치정보 수집에 관한 동의)
회사는 위치기반서비스를 제공하기 위하여 개인위치정보주체의 개인위치정보를 수집하며, 개인위치정보주체는 본 약관에 동의함으로써 이에 동의한 것으로 간주됩니다.
제 4조 (개인위치정보 수집에 관한 동의의 철회)
개인위치정보주체는 서비스 해지 등의 방법을 통하여 개인위치정보의 수집에 관한 동의를 철회할 수 있습니다.
제 5조 (개인위치정보 수집 방법)
① 회사는 회사에서 제공하는 전용 단말기에서 위치정보를 수집합니다.
② 제1항에서 정한 개인위치정보의 수집방법이 변경되는 경우 회사는 서비스 전용 프로그램으로 개인위치정보주체에게 통지하거나 또는 회사의 인터넷 홈페이지 등에 공지합니다. 다만, 회사가 통제할 수 없는 사유가 발생하여 사전 통지가 불가능한 경우에는 사후에 통지합니다.
제 6조 (개인위치정보 보호 및 위치정보관리책임자의 지정)
① 회사는 관련법령이 정하는 바에 따라서 개인위치정보주체의 개인위치정보를 보호하기 위하여 노력합니다.
② 회사는 위치정보를 적절히 관리ㆍ보호하고 개인위치정보주체의 불만을 원활히 처리할 수 있도록 실질적인 책임을 질 수 있는 지위에 있는 자를 위치정보관리책임자로 지정해 운영합니다.
③ 위치정보관리책임자는 위치기반서비스를 제공하는 부서의 부서장으로서 구체적인 사항은 본 약관의 부칙에 따릅니다.
제 7조 (개인위치정보 수집 이용 제공사실 확인자료의 보유)
① 회사는 위치정보의 보호 및 이용 등에 관한 법률 제16조 제2항에 근거하여 개인위치정보주체에 대한 위치정보의 수집·이용·제공사실 확인자료를 위치정보시스템에 자동으로 기록하며, 기록시점으로부터 개인위치정보주체불만 응대를 위하여 6개월간 보존합니다.
② 회사는 위치정보의 보호 및 이용 등에 관한 법률 제24조 제4항의 규정에 의하여 개인위치정보주체가 동의의 전부 또는 일부를 철회한 경우에는 지체 없이 수집된 개인위치정보 및 위치정보 수집·이용·제공사실 확인자료(동의의 일부를 철회하는 경우에는 철회하는 부분의 개인위치정보 및 위치정보 이용·제공사실 확인자료에 한합니다)를 파기합니다.
제 8조 (개인위치정보의 보유기간 및 이용기간)
회사는 개인위치정보주체의 개인위치정보를 수집·이용한 경우 위치 정보의 보호 및 이용 등에 관한 법률 제16조2항의 규정에 의하여 기록 보존하여야 하는 위치정보이용 제공사실 확인자료 외의 당해 개인위치정보를, 위치 정보의 보호 및 이용 등에 관한 법률 제23조에 따라 개인위치정보주체가 동의한 목적 범위 내에서의 이용 및 개인위치정보주체 불만 응대를 위하여 3개월간 보유하며 3개월이 지난 경우 지체 없이 파기합니다.
제 9조 (법정대리인의 권리)
① 회사는 14세 미만의 아동으로부터 위치정보의 보호 및 이용 등에 관한 법률 제18조 제1항, 제19조 제1항·제2항 또는 제21조의 규정에 의하여 개인위치정보를 수집·이용 또는 제공하고자 하는 경우에는 그 법정대리인의 동의를 얻어야 합니다.
② 본 약관 제18조(개인위치정보주체의 권리)의 규정은 위치정보의 보호 및 이용 등에 관한 법률 제25조 제2항의 규정에 의하여 법정대리인이 동의를 하는 경우에 이를 준용합니다. 이 경우, '개인위치정보주체'은 '법정대리인'으로 봅니다.
제 10조 (8세 이하의 아동 등의 보호의무자의 권리)
① 회사는 아래의 경우에 해당하는 자(이하 “8세 이하의 아동”등이라 한다)의 보호의무자가 8세 이하의 아동 등의 생명 또는 신체보호를 위하여 개인위치정보의 이용 또는 제공에 동의하는 경우에는 본인의 동의가 있는 것으로 봅니다.
1. 8세 이하의 아동
2. 금치산자
3. 장애인복지법제2조 제2항 제2호의 규정에 의한 정신적 장애를 가진 자로서장애인고용촉진 및 직업재활법 제2조 제2호의 규정에 의한 중증장애인에 해당하는 자(장애인복지법 제29조의 규정에 의하여 장애인등록을 한 자에 한한다)
② 8세 이하의 아동 등의 생명 또는 신체의 보호를 위하여 개인위치정보의 이용 또는 제공에 동의를 하고자 하는 보호의무자는 서면동의서에 다음 사항을 기재하고 그 보호의무자가 기명날인 또는 서명하여 회사에 제출하여야 합니다.
1. 8세 이하의 아동 등의 성명, 주소 및 생년월일
2. 보호의무자의 성명, 주소 및 연락처
3. 개인위치정보 수집, 이용 또는 제공의 목적이 8세 이하의 아동 등의 생명 또는 신체의 보호에 한정된다는 사실
4. 동의의 연월일
③ 보호의무자는 8세 이하의 아동 등의 개인위치정보 이용 또는 제공에 동의하는 경우 개인위치정보주체 권리의 전부를 행사할 수 있습니다.
제 11조 (개인위치정보 제공)
① 회사는 위치정보사업자이면서 동시에 위치기반서비스사업자로 제3자(서비스 계약을 맺은 회사 등)에게 위치정보를 제공할 뿐, 다른 위치기반서비스사업자에게 위치정보를 제공하지 않습니다.
② 회사는 위치정보의 보호 및 이용 등에 관한 법률 제29조(긴급구조를 위한 개인위치정보의 이용)에 따라 경찰관서 또는 긴급구조기관(재난 및 안전관리 기본법 제3조 제7호) 등이 전화 또는 이메일 등으로 요청을 할 경우, 위치정보를 즉시 제공합니다.
③ ②의 위치정보 제공 이력을 ②의 기관명, 날짜와 시각, 개인위치정보주체의 이름, 목적 등의 내용을 기록, 보관합니다.
제 12조 (회사의 의무)
① 회사는 개인위치정보주체의 개인위치정보 수집과 관련한 개인위치정보주체의 불만사항이 접수되는 경우 이를 신속하게 처리하여야 하며, 신속한 처리가 곤란한 경우 그 사유와 처리 일정을 개인위치정보주체에게 통지합니다.
② 회사는 위치정보의 보호 및 이용 등에 관한 법률, 정보통신망 이용촉진 및 정보보호 등에 관한 법률, 통신비밀보호법, 전기통신사업법 등 개인위치정보주체의 개인위치정보 수집과 관련이 있는 법규를 준수합니다.
③ 회사는 개인위치정보주체의 개인위치정보를 위치기반서비스 제공을 위한 목적에 한하여 사용합니다.
④ 회사는 다음 각 호의 1에 해당하는 행위를 하여서는 아니 됩니다.
1. 개인위치정보주체의 동의를 득하지 않은 상태에서 회사에 당해 개인위치 정보주체의 개인위치정보를 요청하는 행위
2. 개인위치정보 수집 및 제공과 관련된 설비의 오동작이나 정보 등의 파괴 및 혼란을 유발시키는 컴퓨터 바이러스 감염자료를 등록 또는 유포하는 행위
3. 자기 또는 타인에게 재산상의 이익을 주거나 타인에게 손해를 가할 목적으로 허위의 정보를 유통시키는 행위
4. 타인의 개인위치정보를 무단으로 유용 또는 유출하는 행위
5. 기타 불법적이거나 부당한 행위
⑤ 회사는 위치정보의 보호 및 이용 등에 관한 법률, 정보통신망 이용촉진 및 정보 보호 등에 관한 법률, 통신비밀보호법, 전기통신사업법 등 개인위치정보주체의 개인위치정보의 이용 · 제공과 관련이 있는 법규 및 관련 법령 및 이 약관의 규정 등을 준수합니다.
제 13조 (개인위치정보주체의 권리)
① 개인위치정보주체는 회사의 개인위치정보의 수집에 대한 동의의 전부 또는 일부에 대하여 철회할 수 있습니다.
② 개인위치정보주체는 회사의 개인위치정보 수집의 일시적인 중지를 요구할 수 있습니다.
③ 개인위치정보주체는 제1항 및 2항에 의한 개인위치정보 수집에 대한 동의철회 및 중지를 회사에 전화 등으로 연락하여 요청할 수 있습니다. 또한 팩스, 또는 우편 및 인터넷에의 접속을 통하여 요청할 수 있습니다.
④ 개인위치정보주체가 제1항 또는 제2항에 따라 개인위치정보 수집에 대한 동의를 철회 또는 중지하는 경우 개인위치정보주체에 대한 회사의 서비스를 포함한 각종 서비스의 제공이 불가능하게 될 수 있습니다.
⑤ 개인위치정보주체는 회사를 방문하거나 전화 등으로 다음 각 호의 1의 자료 등의 열람 또는 고지를 요구할 수 있고 당해 자료 등에 오류가 있는 경우에는 그 정정을 요구할 수 있습니다.
1. 개인위치정보주체에 대한 위치정보 수집·이용·제공사실 확인자료 2. 개인위치정보주체의 개인위치정보가 위치정보의 보호 및 이용 등에 관한 법률 또는 다른 법률의 규정에 의하여 제3자에게 제공된 이유 및 내용
제 14조 (개인위치정보주체의 의무)
① 개인위치정보주체는 서비스의 제공을 위하여 회사가 개인위치정보를 수집하는데 필요한 제반 정보를 제공, 등록할 경우 현재의 사실과 일치하는 완전한 정보를 제공, 등록하여야 하며, 변경사항이 발생할 경우 즉시 갱신하여야 합니다.
② 개인위치정보주체는 다음 각 호의 1에 해당하는 행위를 하여서는 아니 됩니다.
1. 개인위치정보 수집과 관련된 설비의 오동작이나 정보 등의 파괴 및 혼란을 유발시키는 컴퓨터 바이러스 감염 자료를 등록 또는 유포하는 행위
2. 타인으로 가장하는 행위 및 타인과의 관계를 허위로 명시하는 행위
3. 자기 또는 타인에게 재산상의 이익을 주거나 타인에게 손해를 가할 목적으로 허위의 정보를 유통시키는 행위
4. 타인의 개인위치정보를 무단으로 유용 또는 유출하는 행위
5. 기타 불법적이거나 부당한 행위
③ 개인위치정보주체는 관계 법령, 이 약관의 규정, 이용안내 및 서비스 상에 공지한 주의사항, 회사가 통지하는 사항 등을 준수하여야 하며, 기타 회사의 업무에 방해되는 행위를 하여서는 아니 됩니다.
제 15조 (양도금지)
개인위치정보주체와 회사는 본 약관상의 지위 또는 권리 · 의무의 전부 또는 일부를 제3자에게 양도, 위임하거나 담보제공 등의 목적으로 처분할 수 없습니다.
제 16조 (손해배상)
① 개인위치정보주체가 고의나 과실에 의해 이 약관의 규정을 위반함으로 인하여 회사에 손해가 발생하게 되는 경우, 이 약관을 위반한 당사자는 회사에 발생한 손해를 배상하여야 합니다.
② 개인위치정보주체의 불법행위나 개인위치정보주체의 고의나 과실에 의해 이 약관 위반행위로 인하여 회사가 제3자로부터 손해배상청구 또는 소송을 비롯한 각종 이의제기를 받는 경우 당해 개인위치정보주체는 그로 인하여 회사에 발생한 손해를 배상하여야 합니다.
③ 회사가 위치정보의 보호 및 이용등에 관한 법률 제 15조 내지 제 26조의 규정을 위반한 행위 혹은 회사가 제공하는 서비스로 인하여 개인위치정보주체에게 손해가 발생한 경우, 회사가 고의 또는 과실 없음을 입증하지 아니하면, 개인위치정보주체의 손해에 대하여 책임을 부담합니다.
제 17조 (면책사항)
① 회사는 천재지변 또는 이에 준하는 불가항력으로 인하여 개인위치정보를 수집할 수 없는 경우 이에 관한 책임이 면제됩니다.
② 회사는 개인위치정보주체의 귀책사유로 인하여 회사가 개인위치정보를 수집하지 못하거나 잘못 수집하여 발생하는 서비스의 이용장애에 대하여 책임을 지지 않습니다.
제 18조 (분쟁의 조정 및 기타)
① 개인위치정보의 수집과 관련하여 회사와 개인위치정보주체 사이에 분쟁이 발생한 경우, 회사와 개인위치정보주체는 분쟁의 해결을 위해 성실히 협의합니다.
② 제1항의 협의에도 불구하고 회사와 개인위치정보주체 사이의 분쟁이 해결되지 않을 경우 양 당사자는 정보통신망 이용촉진 및 정보보호 등에 관한 법률 제33조의 규정에 의한 개인정보분쟁조정 위원회에 분쟁조정을 신청할 수 있습니다.
제 19조 (회사의 연락처)
회사의 상호, 대표자, 주소, 대표전화는 다음과 같습니다.
1. 상 호 : 주식회사 펀월드
2. 대 표 자 : 유경환
3. 주 소 : 인천광역시 계양구 아나지로 409번길 9
4. 대표전화 : 032-544-7777
부 칙
제1조 (시행일) 이 약관은 2022년 12월 18일부터 시행합니다.
제2조 위치정보관리책임자는 2022년 12월을 기준으로 다음과 같이 지정합니다.
① 소속 및 직위 : 개발부 유경환
② 연락처 : 032-544-7777
개인정보 수집*이용*위치 및 제3자 제공 동의서
위치발신장치 서비스의 출입 권한의 승인을 위하여 다음과 같이 개인정보의 수집과 위수탁 처리를 위한 제3자 제공 동의를 얻고자 합니다.
개인정보 수집*이용 동의
항목 : 이름, E-mail, 생년월일, 성별, 전화번호
수집목적 : 서비스 이용 정보 확인
보유기간 : 서비스 회원 탈퇴 후 3개월까지
※ 위의 개인정보 수집*이용에 대한 동의를 거부할 권리가 있습니다. 그러나 동의를 거부할 경우 제공 회사에서 사용자에 대한 정보를 알 수 없어 승인 및 서비스에 제한을 받을 수 있습니다.
개인위치정보 제3자 (수탁자) 제공 동의
제공 받는 기관 : 서비스 제공 회사
제공 목적 : 해당 이용자 정보 확인 및 관리
제공하는 항목 : 이용자 서비스 정보
보유 기간 : 서비스 회원 탈퇴 후 3개월까지
※ 위의 개인위치정보 제3자 (수탁자) 에 대한 거부 할 권리가 있습니다. 그러나 동의를 거부할 경우 승인 및 서비스 시스템에 제한을 받을 수 있습니다.
개인정보 제3자 (수탁자) 제공 동의
제공 받는 기관 : 서비스 제공 회사
제공 목적 : 해당 이용자 정보 확인 및 관리
제공하는 항목 : 이름, E-mail, 생년월일, 성별, 전화번호
보유 기간 : 서비스 회원 탈퇴 후 3개월까지
※ 위의 개인정보 수집*이용에 대한 거부 할 권리가 있습니다. 그러나 동의를 거부할 경우 승인 및 시스템에 제한을 받을 수 있습니다.
📐주요공식
Quaternion
Rotation
👤대표 이력 > 📜특허
출원 정보
대표 이미지
출원 정보
대표 이미지
2020.06.30 패그 보드, 재활 훈련 시스템 및 재활 훈련 방법 (PEGBOARD, REHABILITATION TRAINING SYSTEM AND REHABILITATION TRAINING METHOD)
2020.03.27 패그보드 훈련 방법 및 그 프로그램 (METHOD AND PROGRAM FOR TRAINING USING PEGBOARD)
2019.11.12 LIGHT-EMITTING DIODE GLASSES, CONTROL SYSTEM FOR MULTIPLE LIGHT-EMITTING DIODE GLASSES, AND CONTROL METHOD THEREFOR (발광 다이오드 유리, 다중 광 - 방출 다이오드 유리를 위한 제어 시스템과 그 제어 방법)
2019.10.30 손가락 움직임 보조장치 (APPARATUS FOR ASSISTING FINGER MOVEMENT)
2019.08.06 신체 움직임 보조장치 (APPARATUS FOR ASSISTING BODY MOVEMENT)
2019.05.31 재활 훈련 장치 (REHABILITATION TRAINING APPARATUS)
2019.03.04 패그보드형 재활훈련시스템 (Rehabilitation training system using pegboard)
2019.02.08 손 재활 훈련장치 (HAND REHABILITATION TRAINING APPARATUS)
2019.02.08 손 재활 훈련장치 (HAND REHABILITATION TRAINING APPARATUS)
2019.01.18 패그보드형 재활훈련시스템 (Rehabilitation training system using pegboard)
2018.12.13 어깨 관절을 위한 재활 훈련을 제공하는 단말 (DEVICE FOR PROVIDING REHABILITATION TRAINING FOR SHOULDER JOINT)
2018.11.06 재활 훈련 장치 (REHABILITATION TRAINING APPARATUS)
2018.11.13 APPARATUS FOR ASSISTING IN FINGER MOTION (손가락 운동을 돕기 위한 장치)
2018.10.26 System and method for rehabilitation exercise of the hands (핸드의 재활 운동을 위한 시스템과 방법)
2018.09.27 패그 보드, 재활 훈련 시스템 및 재활 훈련 방법 (PEGBOARD, REHABILITATION TRAINING SYSTEM AND REHABILITATION TRAINING METHOD)
2018.09.27 패그보드 훈련 방법 및 그 프로그램 (METHOD AND PROGRAM FOR TRAINING USING PEGBOARD)
2018.09.27 PEGBOARD, REHABILITATION TRAINING SYSTEM, AND REHABILITATION TRAINING METHOD (펙보드, 재활 트레이닝 시스템과 재활 훈련 방법)
2018.09.21 손가락 움직임 보조장치 (APPARATUS FOR ASSISTING FINGER MOVEMENT)
2018.07.11 REHABILITATION TRAINING APPARATUS (재활 훈련 장치)
2017.12.04 PEGBOARD TYPE REHABILITATION TRAINING SYSTEM (펙보드 타입 재활 트레이닝 시스템)
2017.08.16 METHOD FOR SETTING DIFFICULTY LEVEL OF TRAINING CONTENTS AND ELECTRONIC DEVICE IMPLEMENTING THE SAME (이를 구현하는 수련 내용과 전자기기의 난이도 레벨을 셋팅시키기 위한 방법)
2017.05.22 재활 훈련 장치 (REHABILITATION TRAINING APPARATUS)
2017.04.07 손가락 운동장치 (FINGER EXERCISER)
2017.03.31 패그보드형 재활훈련시스템 (Rehabilitation training system using pegboard)
2016.12.07 Light-emitting diode glasses, control system for multiple light-emitting diode glasses, and control method therefor (발광 다이오드 유리, 다중 광 - 방출 다이오드 유리를 위한 제어 시스템과 그 제어 방법)
2015.09.16 손가락 운동장치 (FINGER EXERCISER)
2015.06.15 마우스형 재활 훈련 장치 (REHABILITATION TRAINING APPARATUS OF MOUSE TYPE)
2015.04.13 작업수행능력 측정시스템 (SYSTEM FOR MEASURING THE ABILITY OF ORDINARY PERFORMANCE)
2015.03.03 신체운동능력 평가 시스템 (SYSTEM FOR EVALUATING THE ABILITY OF PHYSICAL ACTIVITY)
2015.02.04 마우스형 재활 훈련 장치 (REHABILITATION TRAINING APPARATUS OF MOUSE TYPE)
2015.01.23 손 재활 운동 시스템 및 방법 (System and method for rehabilitation exercise of the hands)
2015.01.12 스마트 툴 세트 (SMART TOOL SET)
2014.06.30 지자기 센서의 자동 캘리브레이션 방법 (AUTOMATIC CALIBRATION METHOD FOR GEOMAGNETIC SENSOR)
2014.03.14 Robot cleaner and control method thereof (로봇 클리너와 그 제어 방법)
2013.11.26 Cleaning robot and control method thereof (청소로봇과 그 제어 방법)
2013.08.30 Side brush assembly, robot cleaner and control method of robot cleaner (측면 브러시 조립, 로봇 클리너 및 로봇 클리너의 제어 방법)
2013.03.23 로봇 청소기 및 로봇 청소기의 제어방법 (ROBOT CLEANER AND METHOD FOR CONTROLLING THE SAME)
2012.11.30 청소 로봇 및 그 제어 방법 (Cleaning robot and method for controlling the same)
2012.11.22 로봇청소시스템 및 그 제어방법 (ROBOT CLEAN SYSTEM AND CONTROL METHOD THEREOF)
2012.11.20 사이드 브러시 어셈블리, 로봇 청소기 및 로봇 청소기의 제어방법 (Side brush assembly, robot cleaner and method for controlling the robot cleaner)
2011.06.07 Robot cleaner, docking station, robot cleaner system including robot cleaner and docking station, and method of controlling robot cleaner (도킹 스테이션 및 로봇 클리너를 포함하는 로봇 클리너, 도킹 스테이션, 로봇청소기 시스템 및 로봇 클리너를 방제하는 방법)
2010.11.17 Control method of performing rotational traveling of robot cleaner (로봇 클리너의 회전 트레블링을 행하는 제어 방법)
2010.06.15 Robot cleaner and method of controlling travel of the same (로봇 클리너와 이의 트래블을 방제하는 방법)
2010.06.15 Robot cleaner, docking station, robot cleaner system including robot cleaner and docking station, and method of controlling robot cleaner (도킹 스테이션 및 로봇 클리너를 포함하는 로봇 클리너, 도킹 스테이션, 로봇청소기 시스템 및 로봇 클리너를 방제하는 방법)
2010.06.11 ROBOT CLEANER AND METHOD OF CONTROLLING TRAVELING THEREOF (로봇 클리너와 그 트레블링을 방제하는 방법)
2010.06.10 Robot cleaner and control method thereof (로봇 클리너와 그 제어 방법)
2010.06.02 Cleaning apparatus (세정 장치)
2010.05.12 Mobile robot system and method of controlling the same (모바일 로봇 시스템과 이를 방제하는 방법)
2010.03.08 Robot cleaner and method for controlling the same (로봇 클리너 및 그 제어 방법)
2010.03.04 로봇청소기와 도킹스테이션 및 이를 가지는 로봇청소기 시스템 및 그 제어방법 ROBOT CLEANER AND DOCKING STATION AND ROBOT CLEANER SYSTEM HAVING THE SAME AND CONTROL METHOD THEREOF
2010.03.03 로봇청소기 및 그 제어방법 (ROBOT CLEANER AND CONTROL METHOD THEREOF)
2010.02.24 Localization system and method (국소화 시스템과 방법)
2009.12.08 로봇 청소기 (AUTONOMOUS CLEANING DEVICE)
2009.11.18 로봇청소기의 제어방법 (CONTROL METHOD FOR A ROBOT CLEANER)
2009.10.26 이동 로봇 시스템 및 그 제어방법 (MOBILE ROBOT SYSTEM AND CONTROL METHOD THEREOF)
2009.08.26 로봇청소기 및 그 주행 제어 방법 (ROBOT CLEANER AND METHOD FOR CONTROLLING TRAVEL THE SAME)
2009.08.21 로봇청소기 및 그 주행 제어 방법 (ROBOT CLEANER AND METHOD FOR CONTROLLING TRAVEL THE SAME)
2009.08.18 청소장치 (CLEANING APPARATUS)
2009.05.14 로봇청소기 및 그 제어방법 (ROBOT CLEANER AND CONTROL METHOD THEREOF)
2009.04.29 위치 인식 시스템 및 그 방법 (SYSTEM FOR LOCALIZATION AND METHOD THEREOF)
2009.01.09 로봇청소기 및 그 제어방법 (Robot cleaner and control method of the same of)
2008.11.11 자동 주행 로봇 (Automatic Running Robot)
2008.10.29 로봇청소기 및 그 제어방법 (ROBOT CLEANER AND CONTROL METHOD THEREOF)
2008.07.23 Ultrasonic distance sensor and robot cleaner using the same (초음파 거리 센서와 이를 이용하는 로봇 클리너)
2008.07.10 Robot cleaner and control method and medium of the same (로봇 클리너와 제어 방법과 이의 매체)
2008.03.10 초음파거리센서 및 이를 이용하는 로봇청소기 (Ultrasonic waves distance sensor and Robot cleaner using the same of)
2008.03.10 로봇청소기 및 그 제어방법 (Robot cleaner and control method of the same of)
2008.01.23 로봇청소기 시스템의 복귀 방법 Returning Method of Robot Cleaner System
2007.11.23 로봇청소기 시스템의 제어방법 (Control method of robot cleaner system)
2007.11.19 로봇청소기 시스템 및 그 제어방법 (Robot cleaner system and control method thereof)
2007.10.04 로봇청소기 (ROBOT CLEANER)
2007.10.01 로봇청소기 (ROBOT CLEANER)
2007.08.30 로봇 청소기의 제어방법 (CONTROL METHOD FOR ROBOT CLEANER)
2007.08.21 피에스디 거리측정모듈 및 이를 이용한 로봇 청소기 (Position sensitive detector module and Robot celeaner useing the same of)
2007.08.21 로봇청소기의 제어방법 (Control method of robot cleaner)
2007.08.21 로봇청소기 시스템의 복귀장치 및 그 복귀방법 Apparatus for returning of robot cleaner system and returning method thereof
2007.08.17 로봇 청소기 및 그 제어방법 (Robot Cleaner and Control method of the same of)
2007.08.14 로봇청소기 및 그 제어방법 (Robot cleaner and control method thereof)
2007.04.06 로봇청소기 및 그 제어방법 (Robot cleaner and control method thereof)
2007.02.27 자동 주행 청소기 및 그 제어방법 (Robot cleaner and control method of the same of)
2007.02.20 자동 주행 청소기 및 그 제어방법 (Robot cleaner and control method of the same of)
2007.01.18 로봇청소기 (robot cleaner)
🏢회사 > 💰 기술분석·개발·인증·양산 비용 산정서
💰 시제품 개발 수수료 기준표
구분
항목
단가 (VAT 별도)
설명
설계
제품 구조 설계
🗓️ 280,000/일
전체 기구/외형 설계
기구 도면 설계
🗓️ 240,000/일
치수, 조립 도면 등 상세 도면화 또는 정밀화 작업
회로도 설계 및 PCB Artwork
🗓️ 360,000/일
전자 회로 설계, Artwork, 제조 데이터 작성
제작
부품 구매 비
🧾 실비 청구 + 100,000/건
부품, 센서, MCU, 커넥터 등 구매 비용
회로 시제품 제작비
🧾 실비 청구 + 150,000/건
샘플 PCB 제작, SMT 조립, 납땜 포함
기구 시제품 제작비
🧾 실비 청구 + 200,000/건
실리콘/PC/3D프린팅 등 선택 가능
외장 마감/도장/후처리 작업
🧾 실비 청구 + 100,000/건
도장, 코팅, 후처리, 마감, 인쇄 등 시각적 완성도 향상
납품 포장, 동봉, 배송
🧾 실비 청구 + 50,000/건
포장 관련 케이블, 매뉴얼, 박스 포함
구현
펌웨어 코딩
🗓️ 280,000/일
MCU 제어, 센서 연동, 통신 기능 구현
소프트웨어 코딩
🗓️ 320,000/일
PC/모바일/Web 용 프로그램 구현
지원
전기/기계 조립
📄 100,000/건
커넥터 결선, 조립 볼트 체결 등
영상/촬영/문서화 및 매뉴얼 작성
📄 200,000/건
고객 맞춤형 사진, 영상 촬영, 제품 설명서, 작동 가이드 등
프로젝트 대응 및 기술 관리
📄 150,000/건
납품 대응, 기능 확인, 일정/위험요소 관리
시험/신뢰성 검증
🧾 실비 청구 + 150,000/건
사외 시험소 또는 장비 이용
기타
양산 준비 지원
🧾 실비 청구 + 100,000/건
인증, 금형 설계, 양산 대응
IoT 통신 설정
🧾 실비 청구 + 50,000/건
모바일 연동 스마트 디바이스 옵션 통신 비
기술 자문 상담 (시간제)
⌛ 150,000/hr
회의, 기술 검토
※ 안내 사항
- 상기 단가는 1일(8시간 기준)이며, 부가가치세(VAT)는 별도로 부과됩니다.
- 수학적 분석이 포함되는 작업에는 ‘수학적 분석 반영 단가’ (600,000/일)가 적용됩니다.
- 소스 코드 제공(이전)이 포함되는 경우, 해당 작업은 수학적 분석 포함 작업으로 간주되어 동일한 단가가 적용됩니다.
- 실비 청구 항목은 외주, 부품, 시험 등의 실제 지출 비용 기준으로 정산되며, 구매·관리·대응·처리·지원·관리 업무에 따른 일부 수수료가 추가로 부과됩니다.
- 본 수수료 기준표는 프로젝트의 범위 및 난이도에 따라 협의를 통해 조정될 수 있습니다.
🌞
단일 분야에 국한되지 않은 올인원(All-in-One) 설계자로서,
기구, 회로, 펌웨어, 서버까지 아우르는 Full-stack 기술 역량을 보유하고 있으며,
제품 기획부터 구현, 운영까지 이어지는 End-to-End 설계가 가능합니다.
또한, 하드웨어와 소프트웨어의 경계를 넘나드는 Cross-domain 전문성과
수학적 메커니즘 이해를 바탕으로 한 수학적 모델링, 알고리즘 설계까지 직접 수행합니다.
기술 기반의 통합적 사고를 통해 설계 중 발생할 수 있는 오류를 최소화하고,
개발비보다는 제작비와 재료비만으로 진행하며 고객의 부담을 줄이고 있습니다.
단순히 결과물을 만드는 것을 넘어, 기술적 제안과 설계 방향, 구현 방안까지 함께 고민하며
더 나은 제품이 탄생하도록 돕고 있습니다.
때론 조언이 직설적으로 느껴질 수 있지만, 이는 모두 더 좋은 제품을 위한 진심 어린 과정임을 이해해 주시기 바랍니다.
우리는 함께 좋은 제품을 만들어갈 수 있습니다.
— 유경환 / FunWorld 대표
기술과 창의가 만나는 곳, FunWorld와 함께 만드는 기술, 더 나은 제품으로 이어집니다.
단순한 설계가 아닌, 제품의 가능성을 함께 그려갑니다.
FunWorld는
기구·회로 설계부터
제작까지, 전 과정을 함께 고민합니다.
기술 통합, 수학적 사고, 시스템적 접근을 기반으로
제품의 완성도를 끌어올리는 전문 개발 파트너가 되겠습니다.